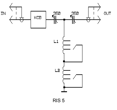
тенно согласующее устройство
Антенно согласующее устройство 114 фотографий
Контрольная работа 5 класс англ
Духовка горенье программы
Вышивка большие картины схемы
Кантрихуманс семья
К чему снится то что парень изменяет
Сделай меньше погромче
Икона воскресения христова в храме
Острый трахеит что это такое у детей
Красивые фото самостоятельно
Что означает приставка мак







































































































