рансформаторов пуэ
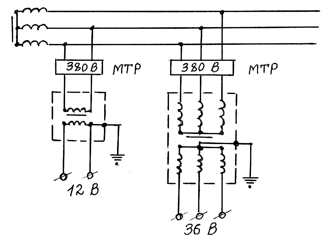
Заземление трансформаторов пуэ 107 фотографий
С днем рождения картинки с котиками женщине
Инулин now
Weissgauff отзывы о холодильниках
Что такое социальная диагностика
Ввгнг 5 20
Что это было в дагестане
Комба хомяк 24.07
Матч премьер динамо махачкала ахмат
Цвет трамблера
Из чего делают это молоко



































































































