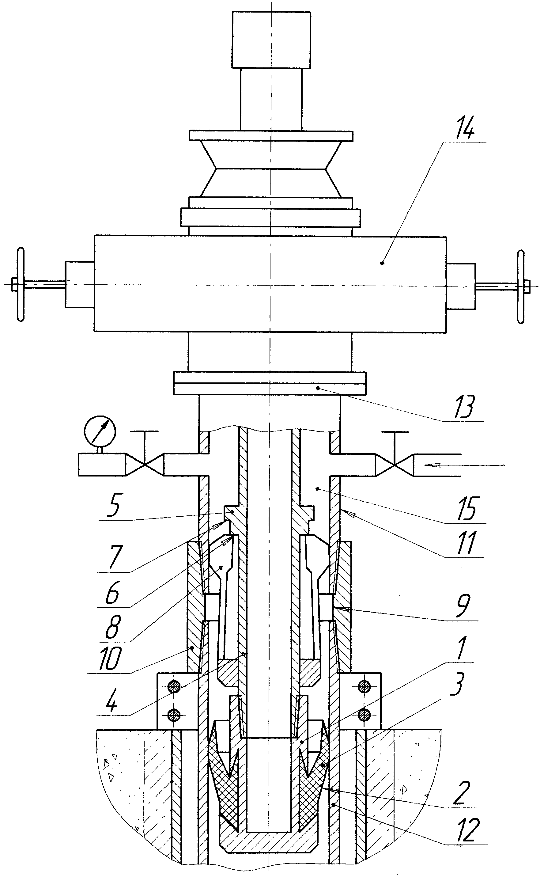
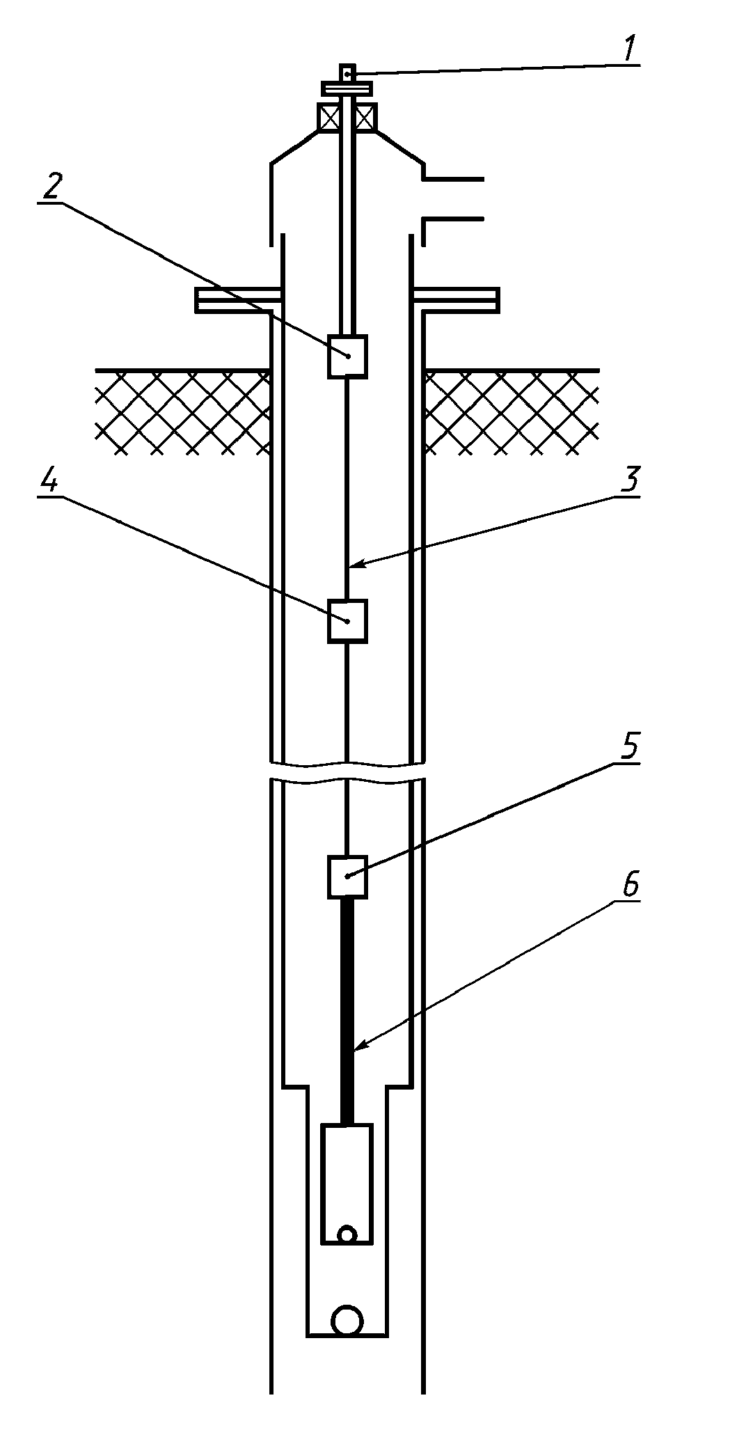
одвеска устьевого штока
Подвеска устьевого штока 124 фотографий
Комната мальчика 11 кв м
Палатка rino 3
Телефон 19000
Шептать страшно
Об утверждении программы социально экономического развития
Масло lf 5w20
Мощная lte антенна
В результате введения сыворотки вырабатывается
Компрессоры 7 атмосфер
Слушать музыку do
























































































































