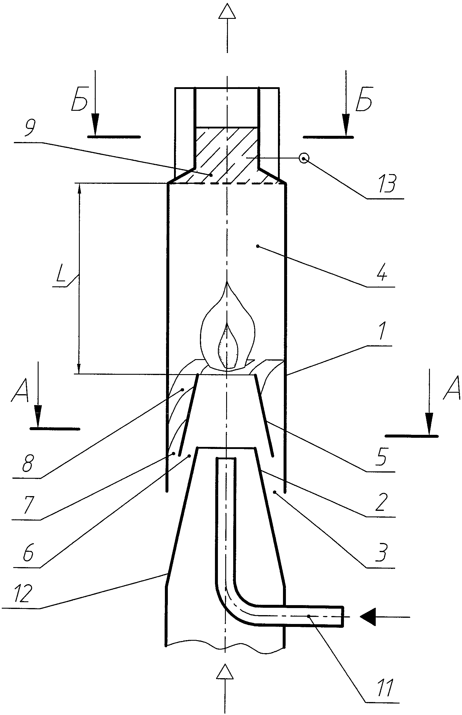
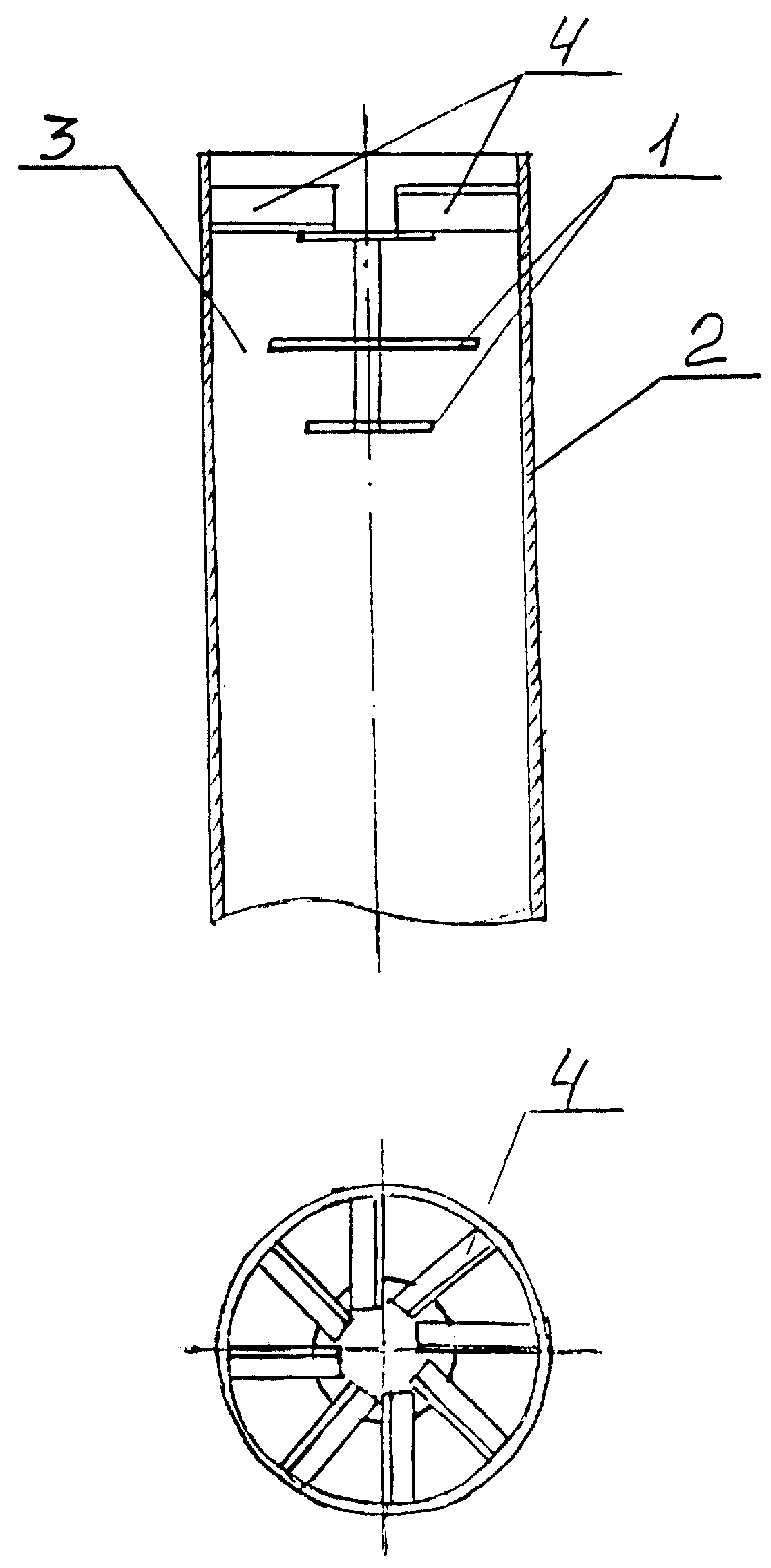
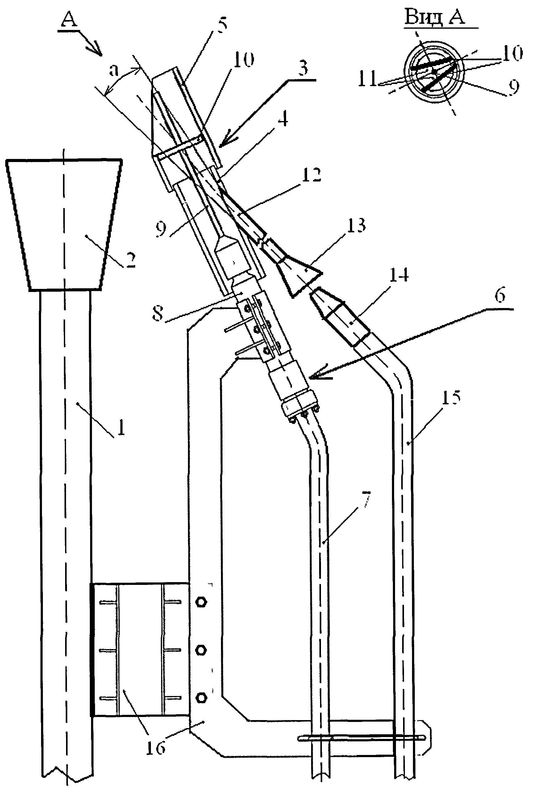
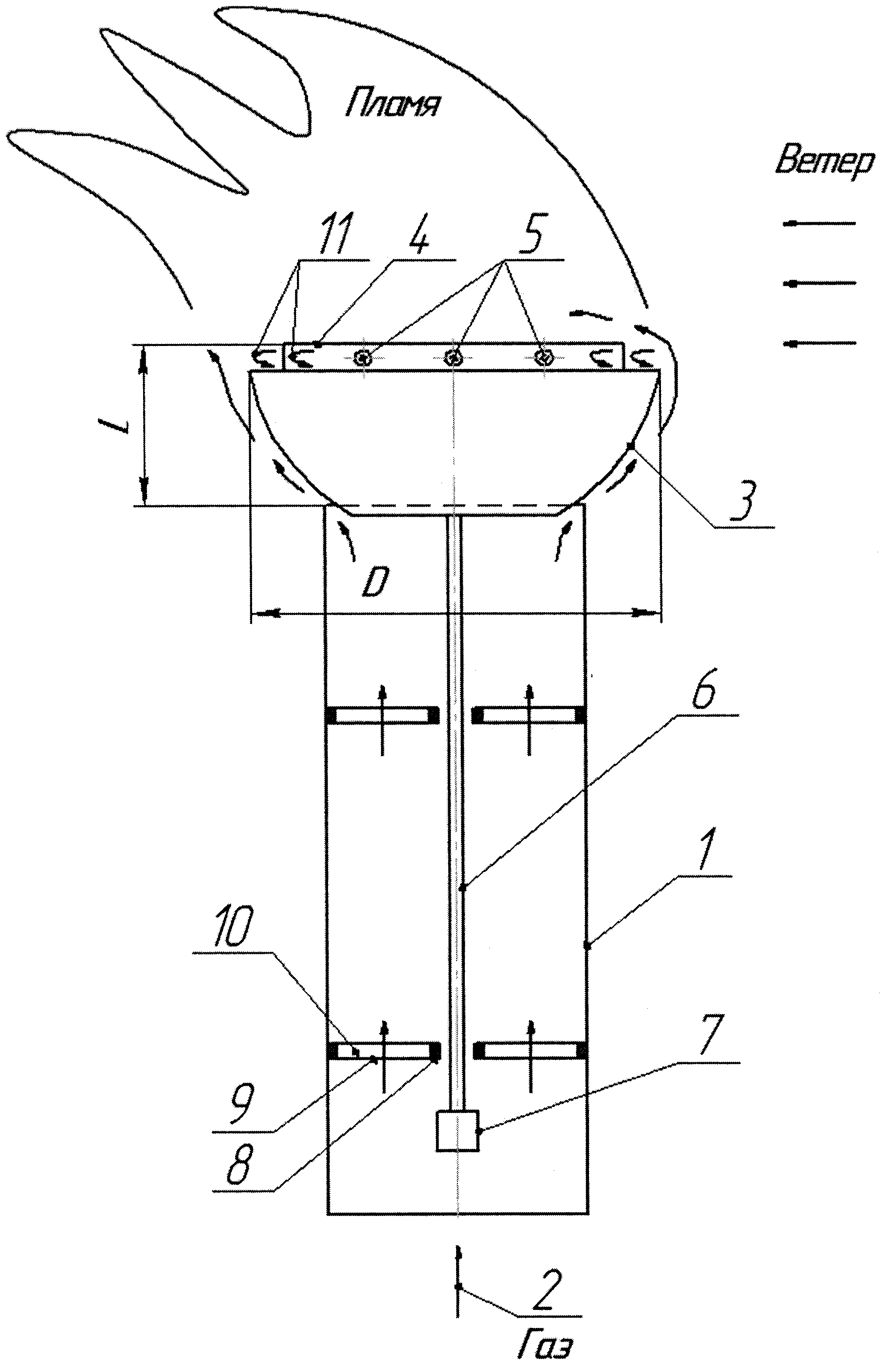
кельного ствола
Как рассказать стих на камеру
Пырей корень применение
Государственная регистрация екатеринбург
Киров автовокзал что случилось
Брак с тельцом женщиной
Лагерь азовец
Декабристов 186
Парк ваккосалми отзывы
Pause script
Новые бланки налоговых деклараций
Рязанский строительный колледж расписание преподавателей
Бигфордовский шнур
Автозагрузка android
Газовый затвор факельного ствола 138 фото








































































































































