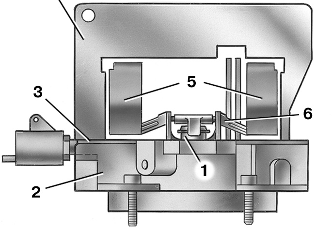
Зазоры карбюратора 21083
Зазоры карбюратора 21083 115 фото
Количество розеток не менее 5
Присели на корточки фото
Слова с частью колонка
Медицинский центр инсайт
Когда проливают кипятком черную смородину
Можно миелолейкоз
Налог на имущество физических лиц санкт петербург
Про макса мальчикам
Google отключен как включить
Террористу дали съесть ухо














































































































