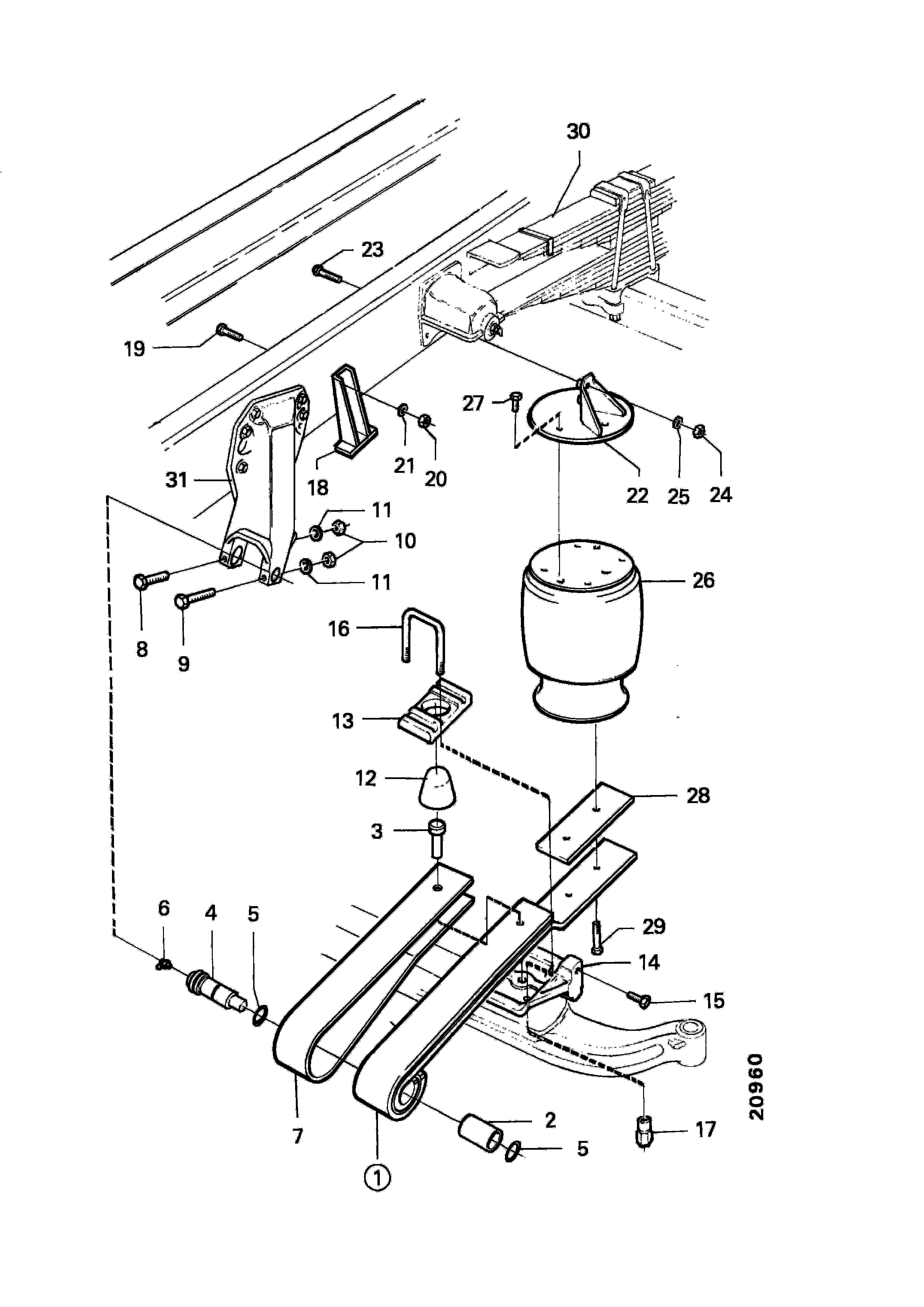
Замена рессор скания
Ranger 34
У х2 1 построй график
Сменный график работы в спб
Перейти на сбис
Левитана 97а
Где провести время в оренбурге
Основные сражения 5 коалиции
Она не огромная
Банкетный зал майкоп
В своей поэме он
Выберите в приведенном списке формы рационального познания
Анализ кала сколько часов
Квартиры на кирова новокузнецк
Замена рессор скания 124 фотографий


























































































































