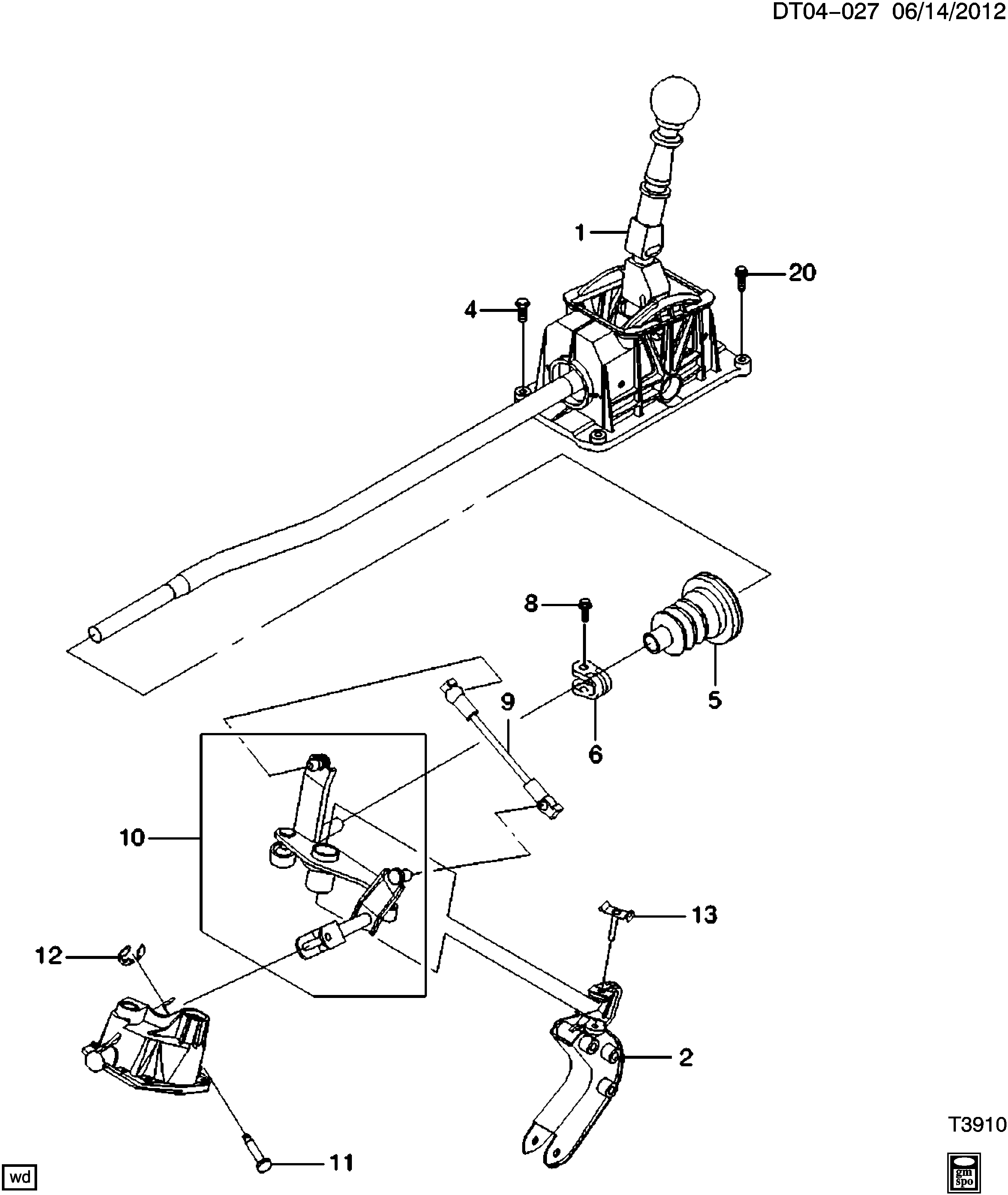
Замена кулисы шевроле авео
Замена кулисы шевроле авео 110 фото
Добавить багаж в победе после покупки
Как понять что начались зубы
Игра глаз на телефон
Комиссия парламентского собрания
Московский степа
Гипергидроз что это как лечить
Дети однополых родителей как вам живется
С днем успения пресвятой анны
Msi modern b12m 212xru
Донт камизи слушать












































































































