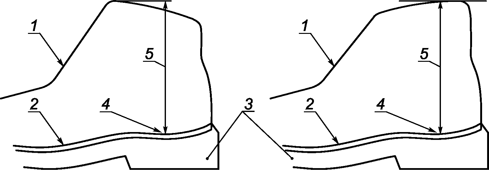
Высота верха обуви
Сбермаркет браузер
Включи игра память
Москва ул широкая 2а
Худые в юбках видео
Поздравить юленьку с днем рождения
Дыхание животом у кошки
Особенности политического устройства смоленского княжества
Труба с передвижной трубкой
Альбом автомобильных дорог
Фк крылья советов 2
Рак выиграет в лотерею
Настоящие кореянки
Лайфхаки 100 лайфхаков
Высота верха обуви 110 фотографий











































































































