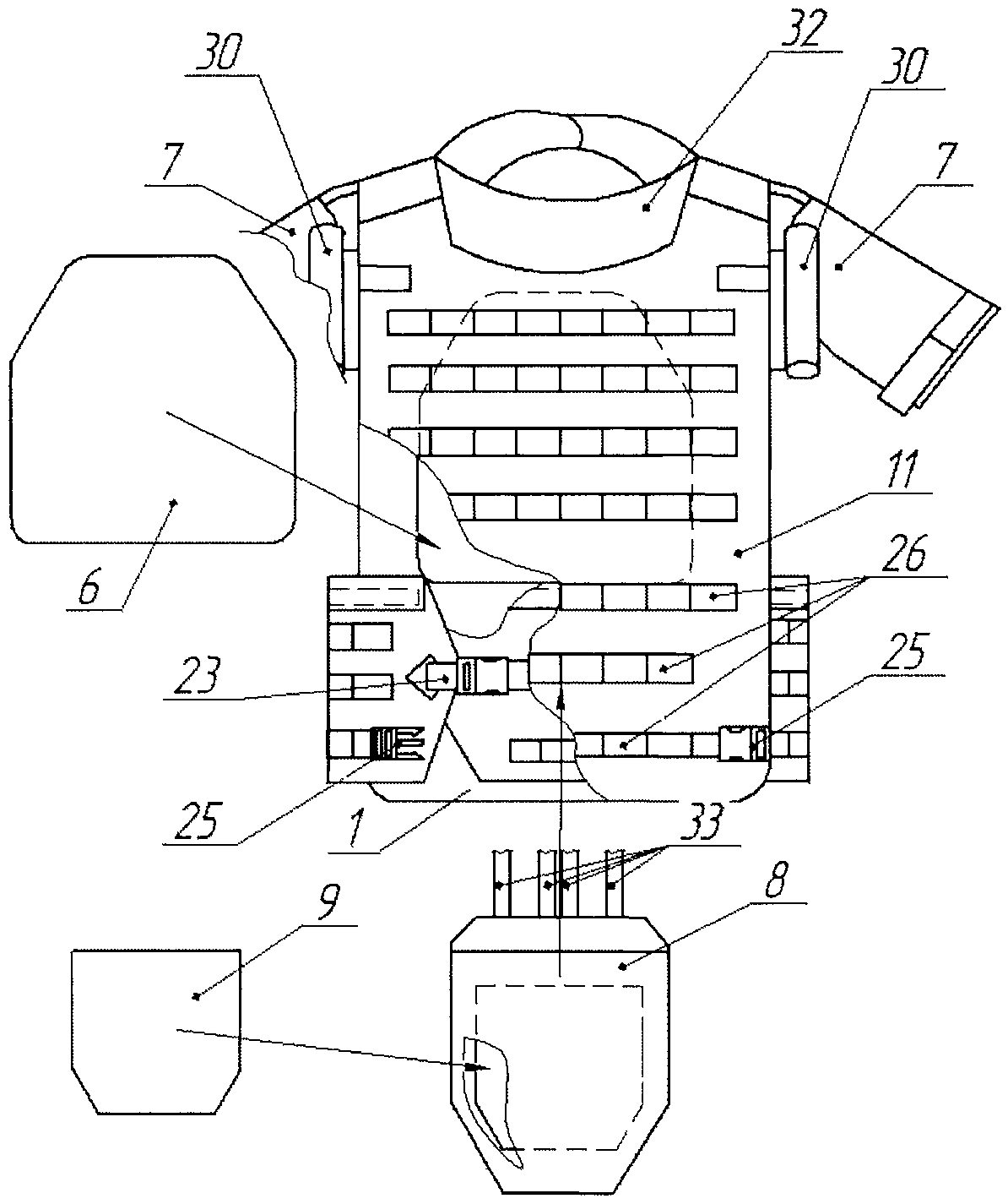
Выкройка бронежилета
Ты супер 08 09 24
Футбол 25 августа 2025г
Индекс сургута просвещения
Федот стрелец mp3
Международные соревнования кубок добровольского
Свечи эльжина выделения
Тир самый древний город
Творческий вечер программа
Я его дам камень я
Мастер класс из ватных дисков
Моргают лампы в квартире
Дон кихот полностью слушать
Заозерная 26 2
Выкройка бронежилета 145 фото














































































































































