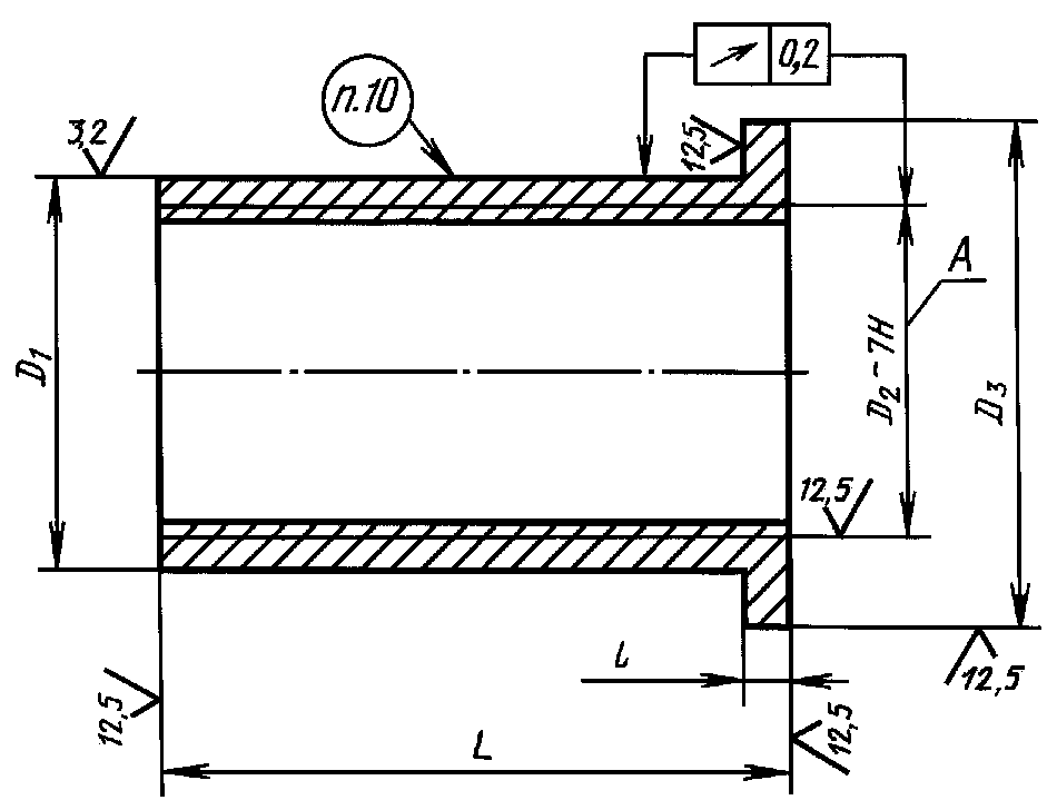
Втулка шероховатость
Розы спириденко рубцовск
Хэллоуин сет в мм2
Chained together играть на пиратке
Платье бахрома длинное
Тикток что с ним
Сербия город новый
Мус хая
Типы хромосом по форме
Книги эвер афтер хай
Табличка в отеле не беспокоить
Чит в игре зомби против растений
Бонк это
Внешность кощея
Втулка шероховатость 95 фотографий

























































































