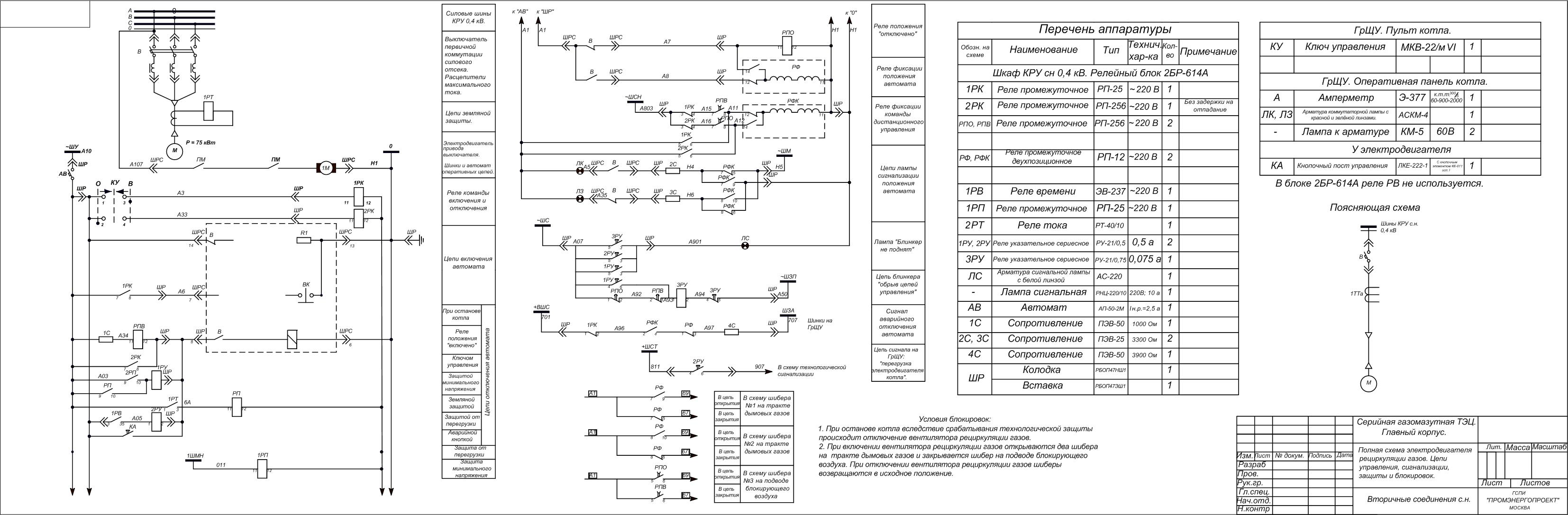
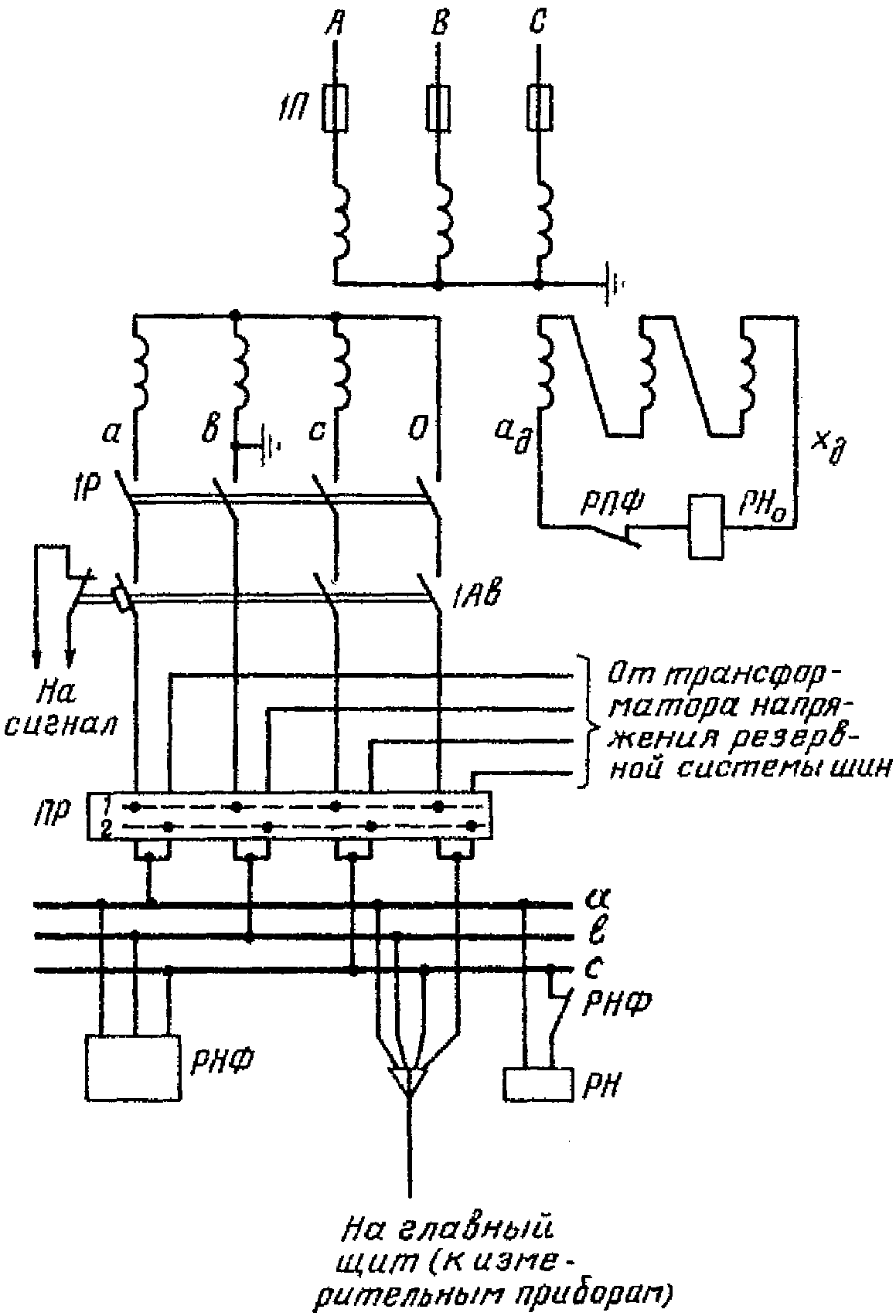
Вторичные цепи подстанции
Вторичные цепи подстанции 99 фотографий
Окружающий мир учебник стр 109
Горгаз без регистрации передать
1с настройка ккм
Каскад военно патриотический
Сделать meme
Кабачки без семян сорта
Посев горчицы для удобрения почвы осенью
Что делать если клавиша на экране
Вахтангова новосибирск
Мортал комбат пс коды
Текст считалки а 4
Ягодное садовое товарищество
Моторное масло лукойл 15 40
Dungeon quest 2
Погода зольская ставропольский край на неделю
Навеска дроби 16
Разница температур двигатель
Почему болит лоб и брови
Ремень гур чери тигго т11
Фанфик тодороки ожп




























































































