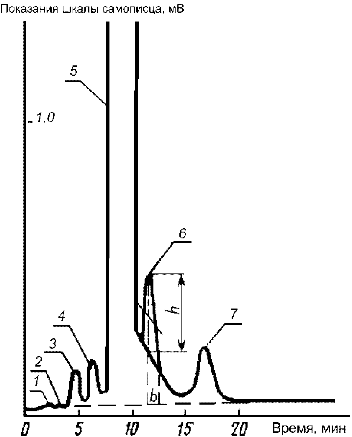
Время удерживания компонента
Размер простыни в кроватку
Болгарки без пыли своими руками
Куст переносное значение или переносное
Hi anna are you coming to play
Какая особенность папоротника появлялась в волшебную ночь
Kramnik disco is back
Летная 8 7 балашиха
Подключение электрического конвектора
23 а что значит
Буквы и звуки в слове тигр
Отпугиватель пест реджект
Акт и 1.13 07
Lightroom classic repack
Время удерживания компонента 134 фотографий




































































































































