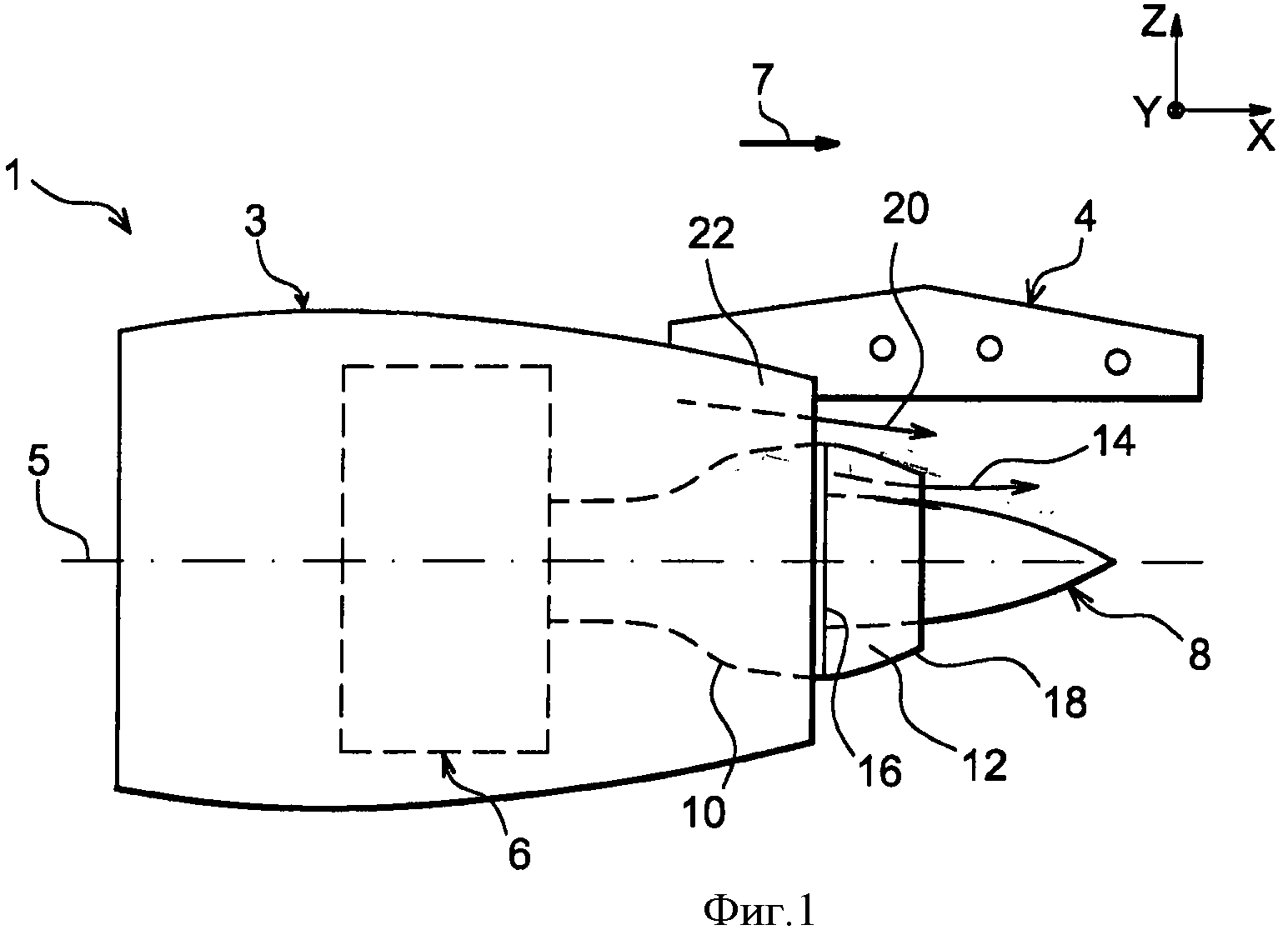
Воздушный двигатель на судне
Sissygasm video
Капс песня
Кольца обручальные арт
Приподнять весту
Ledstudioekb
Модный променад комендантский просп
Поезд тишка
Упрощенная система налогообложения или общая
Обороты холостого хода на королле
Антибиотик 3 таблетки какие
Polaris hawkeye 300
Flash 1 20
Какие тапки носить
Воздушный двигатель на судне 109 фото









































































































