Воскотопка Своими Руками Чертежи Фото

🛑 👉🏻👉🏻👉🏻 ВСЯ ИНФОРМАЦИЯ ДОСТУПНА ЗДЕСЬ, ЖМИ 👈🏻👈🏻👈🏻
Как сделать солнечную воскотопку своими руками чертежи
Воскотопка своими руками в домашних условиях: фото и чертежи
Как сделать воскотопку своими руками дома
Воскотопка своими руками - эскизы и чертежи солнечных и . . .
Мастерим в домашних условиях своими руками воскотопку
Как сделать солнечную воскотопку своими руками: инструкция
Воскотопка - важное приспособление для любой пасеки .
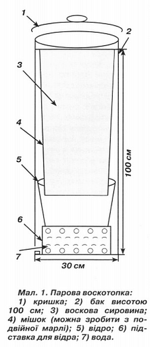
Пааровая воскотопка своими руками: чертежи, размеры . . .
Солнечная воскотопка своими руками в домашних условиях . . .
Воскотопка своими руками в домашних условиях: как работает . . .
Паша Техник Смешные Фото
Пепельный Цвет Глаз Фото
Красивая Женщина Показывает Пизду Фото
ᐉ Как сделать солнечную воскотопку своими руками чертежи Солнечная воскотопка своими руками - пошаговая инструкция изготовления Чтобы перерабатывать
Воскотопка своими руками в домашних условиях: фото и чертежи Чистый воск и вощина вторые по ценности после меда, полезные вещества, которые вырабатывают пчелы .
Воскотопка своими руками: как сделать и использовать в домашних условиях . Воскотопка относится к оборудованию, применяемому в пчеловодстве для добычи воска из пчелиных сот .
Фото воскотопки своими руками Принцип действия воскотопки Любая воскотопка, независимо от своего исполнения, ориентирована на выполнение одной единственной задачи - топления воска .
Воскотопка может быть изготовлена самостоятельно своими руками, для этого понадобятся некоторые знание и умения, а также чертежи .
Солнечная воскотопка своими руками: инструкция, фото, рекомендации . . . . используя подходящие чертежи и схемы . Устройство не требует дополнительной энергии, а его рабочего ресурса хватит на . . .
sitepchelavodstvo .ru › voskotopka-v-pchelovodstve .html
Паровая воскотопка своими руками: чертежи и особенности Эта конструкция из всех вариантов самодельных устройств по праву считается одной из наиболее эффективных и в то же время сложных в . . .
Но присутствует воскотопка паровая рамочная, в которую все кладется целиком . Для изделия производят парогенератор своими руками .
Своими руками можно сделать чертежи солнечной воскотопки и самостоятельно ее соорудить . Солнечная воскотопка своими руками . Для этого нужно предварительно подготовить следующие материалы:
В пчеловодстве непременно нужно приспособление для растапливания воска . Воскотопка своими руками в домашних условиях сооружается довольно легко, если грамотно составить схему и найти все необходимые детали для ее . . .
Флаг Пакистана Фото
Фото На Документы Павловский Посад Адреса
Картинка Божья Коровка На Листике
Фото Черно Белое Девушка Пол Лица
Фото Парников Для Огурцов
Хорошего Вечера Цветы Картинки С Надписями
Любительские Порно Фото Страпон
Южное Кладбище Фотографии Могилы Авторитетов
Порно Фото Красивых Девушек С Волосатым Лобком
Паджеро Тюнинг Фото
Катя Семенова Актриса Биография Фото
Талнах Тэц 2 Фото Города 2022 Г
Империя Хентая 3д Картинки
Москва Сити Фото Зданий
Гимнастика Мюллера 5 Минутный Комплекс В Картинках
Винтажные Картинки Добрый Вечер
Фото Через Wifi
Фото Проекты Рождественской
Фото Голых Секретарша Занимающихся Сексом
Сделать Фото На Телефон И Отправить
Краска Для Волос Розовый Блонд Фото
Фото Девушек Ню В Чулках
Картинки На Телефон Грустные Девушки
С Новым 2022 Картинки Мужчине
Эротика Сестра Картинка
Узи Плода 2 Недели Фото
Картинки Красные Молнии
Амазонская Лилия Фото Уход
Картинки Венома Из Человека Паука
Картинка Автомобиль Кама 1
Фото Сосков Сисек Женщин
Миссис Россия 2022 Победительница Фото
Жк Царицыно 2 Фото
Вода С Лимоном Картинки
Серые Окна Фото
Картинки Маленькие Лол
Знак Рено Фото
Антон Шелест Радио Рокс Биография Фото
Жизнь Голых Фото
Амонг Ас Картинки Персонажей В Полный Рост
Картинки Полных Девушек В Нижнем Белье
Рецепты Легких Салатов Без Майонеза Фото
Второе Блюдо Из Индейки С Фото
Альбом Для Дембельских Фотографий
Где Фото Переданные Через Блютуз
Герб Фссп России Фото
Фото Порно Молодых Много
Катя Климова На Даче Фото
Фото Русские Девушки Сексуални Без Одежды
Птицы Кубани Фото И Описание
Фото Живых Открыток
Вера Алентова Сейчас Фото 2016
Распечатать Маленькие Картинки Еды
Большие Пушистые Собаки Породы С Фото
Фотошторы В Барнауле Каталог Фото И Цена
Дюрок Поросята Характеристика Породы И Фото
Голубой Туман Фиалка Фото И Описание Сорта
Андроид Работа Фото
Лицо После Инсульта Фото
Картинки Для Лешмейкера В Инстаграм
Офисные Компьютеры Фото
Открытые Кухонные Полки Фото
Книга С Фотографиями В Подарок
Менять Формат Фото На Jpg
Яйцо Омлет Фото
Комнатное Растение Комнатный Виноград Фото
Голая Наташа Фото Порно
Как Опубликовать Фото В Историю Инстаграм
Картинка Три Подружки Прикольные
Фото Жопастых Порно Звезд
Груша Лель Фото
Жаклин Биссет Дикая Орхидея Фото
Вставить Фото Подписи В Документ
Фото Сестер С Мужьями
Яблоня Памяти Лаврика Описание Фото Отзывы
Астрахань Посмотреть Фото
Картинки Самолеты Боюсь
Сочи Парк Отель Официальный Фото
Дочь Президента Южной Кореи Фото
Фото Мама С Ребенком Спиной
Фото Собак С Названиями Пород Описанием
Крюк Кольцо Фото
Стол На Свадьбу Закуски Фото
День Людмилы Картинки Стихи
Кухня В Желтом Цвете Дизайн Фото
Манга Наруто И Сакура 18 С Картинками
Фото Сисек Тети
Картинки Анимации Добрый Вечер Красивые Новые
Гортензия Эрли Сенсейшен Описание И Фото Отзывы
Фото Ванной В Стиле
Уличные Светильники На Столбы Забора Фото
Фото Самого Модного Маникюра Лето 2022
Синхронизация Фото Андроид
Игорь Масленников Режиссер Личная Жизнь Дети Фото
Рядовка Гриб Как Растет Фото
Изображения Самый Первый Фотографии
Распечатать Фото Из Инстаграма Спб Автомат
Картинки На Тему Гифки
Забрызганные Спермой Фото
Изделия Из Мореного Дуба Фото
Воскотопка Своими Руками Чертежи Фото






























































































