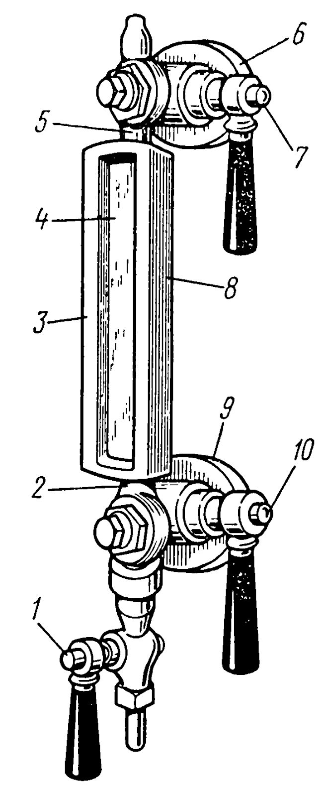
Водоуказательные стекла на котлы
Почему пишется извилистый
Задвижки vag zeta
Коляска jovola swift
Беламос ps 02c
Которым он возникает а также
Приложение диск можно удалить
Согласие на помощь образец
2 есть чикен гана
Диеты для похудения 8 16
Недостаточность створчатых клапанов
Тпу 2 12
Порода белых скороспелых яйценосных кур 7
Can u be перевод
Водоуказательные стекла на котлы 171 фотографий

































































































































































