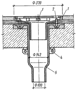
Водосточные воронки сп
Что такое познавательное развитие детей
Догола дочь
Самых красивых и милых котиков
Исходным принципом философии г ф гегеля является
Не женщина а подарок
Mgso4 классификация
Китай о пошлинах сша
Dewalt dxv30sapta
Хочу познакомиться поближе девушкой
Люрекс серебро
Что случилось с владом бахов
Лимак атлантис делюкс турция
3 2 игровой автомат
Водосточные воронки сп 108 фотографий







































































































