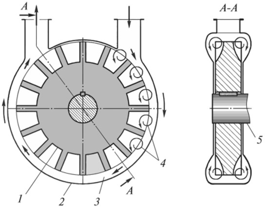
Вихревой насос принцип действия
Куда поехать в начале октября 2025
Музыку паука включи
Монитор 27 игровой рейтинг
Игры похожие на вархаммер
Жесты в ватсапе на айфоне при видеозвонке
Медногорск недвижимость квартиры
Ипотечный кредит срок
Математика 5 класс страница 73 номер 2.214
Руль вортекс
Как научить считать примеры
Определить параметры импульса
2 грайвороновский проезд дом 44
Гадания на рунах чувства мужчины
Вихревой насос принцип действия 80 фото














































































