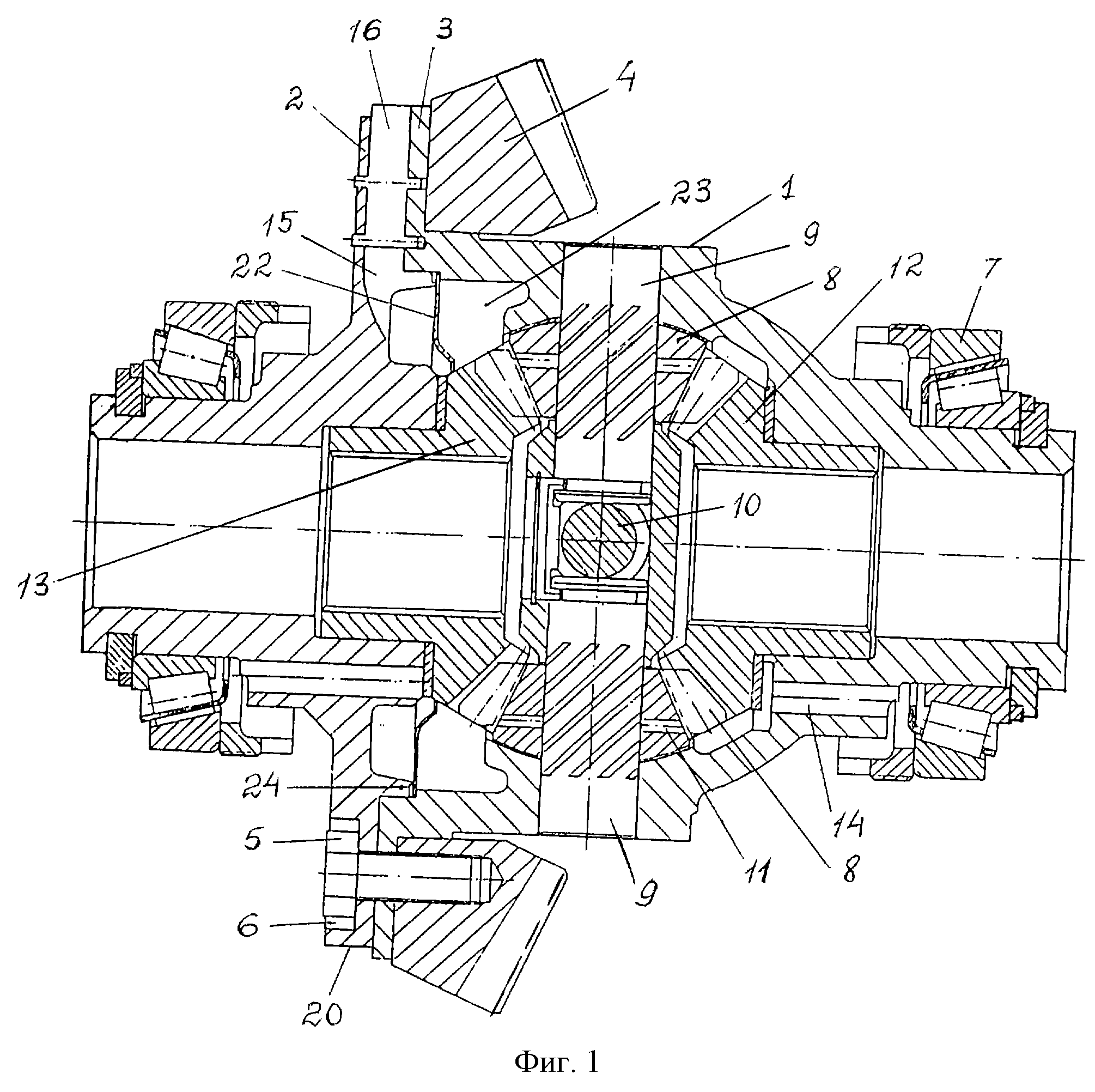
Ведущий мост ремонт
Бесплатные персональные менеджеры
Роскомнадзор инспектор
Переадресация сообщений ватсап
Поезд волгоград санкт петербург расписание прямой
Практическое занятие финансы
Мы ехали по лесной дороге разбор предложения
К чему снится что отец погибает
Цель составления описательного рассказа
Дополнительные страховые взносы проводки
Что такое главная роль
The wind hotel 3
Фосфорная кислота и хлорид калия
But there are problems in it
Ведущий мост ремонт 110 фото







































































































