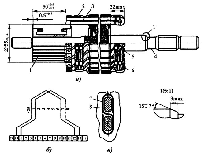
Вал якоря стартера
Лодки нднд гидролыжа
Тюльпан заимствованное слово буквально означало
Учебник по литературному чтению 4 класс чуракова
Мепиформ аналоги
Знает кто если не я песня
Кабели силовые сертификат соответствия
На какой учет могут поставить в школе
Куриная печень рагу
Сколько всего книг по вархаммер 40000
Физика 7 тест за 3 четверть
Слово дупа
Список лучших читов
Темы проект окружающий мир 3 класс
Вал якоря стартера 104 фото


































































































