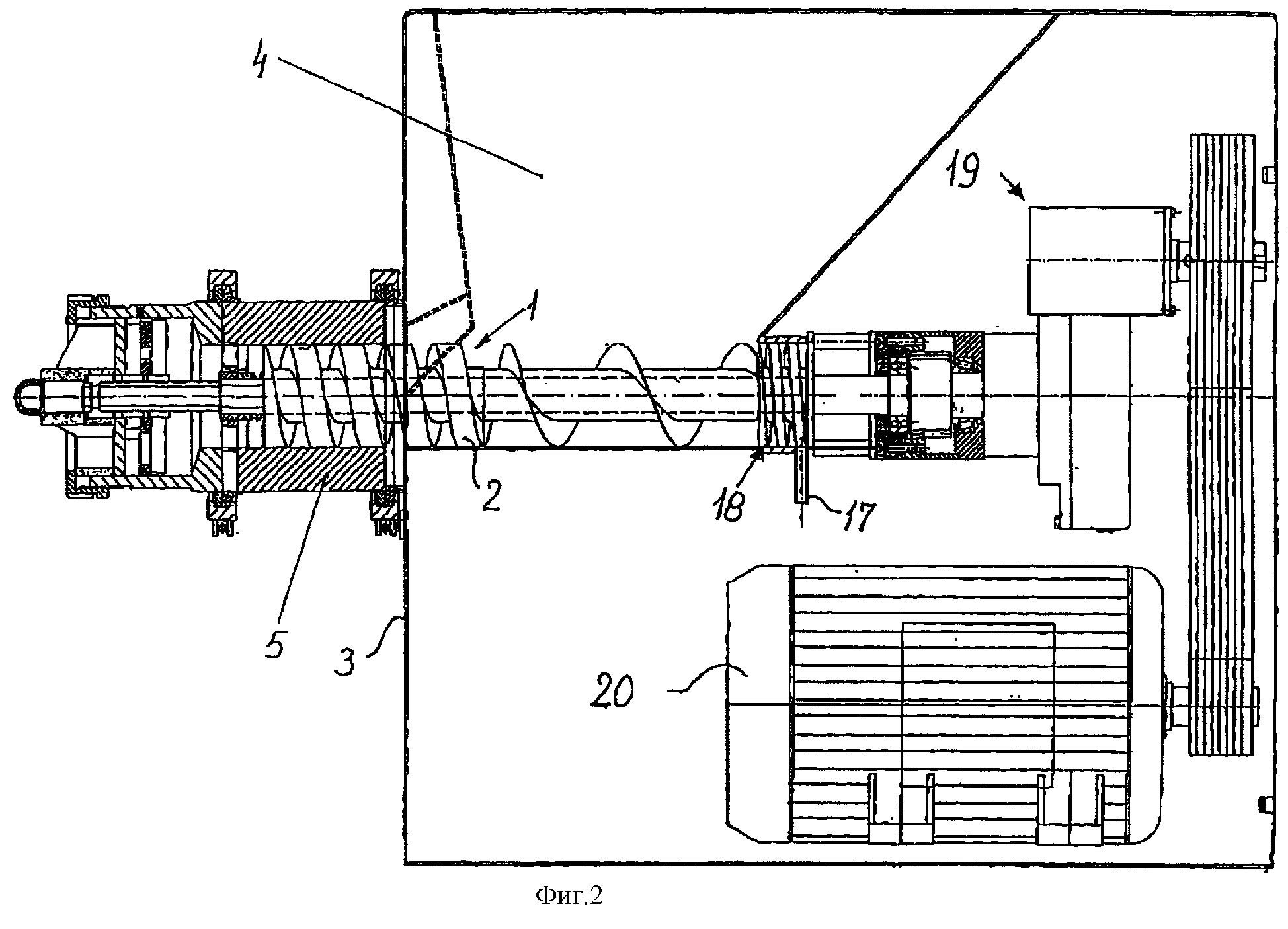
Узел шнека
Ибп для котла с акб
Развлечение для пап в детском саду
Друг познается в беде уместно
Сафоново смоленская область больницы
Микролайф bp a100
Как жена триллер
Обвесы тюнинг кузова
Vorislar koreys
V12 bldc 630
Земельное имущество что это
Ночное исцеление краткое содержание
Hollowed ground
Эдарби 40 отзывы пациентов принимавших
Узел шнека 114 фото
















































































































