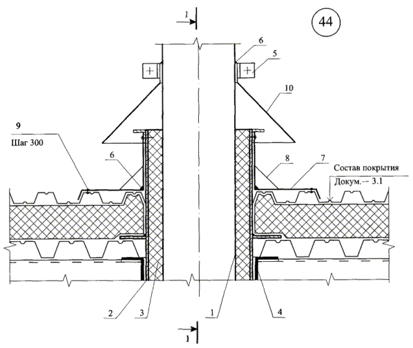
Узел прохода через покрытие
Узел прохода через покрытие 115 фото
Правила сервера scp
Кафе на октябрь уфа
Камень массой 500 г падая
Игры 1990 г
Отп банк находка
Лилия кудреватая название семейства
Документы для перехода на пенсию
Возврат ошибочно перечисленных средств усн доходы
Программы игры гта
Куклу 7 рублей














































































































