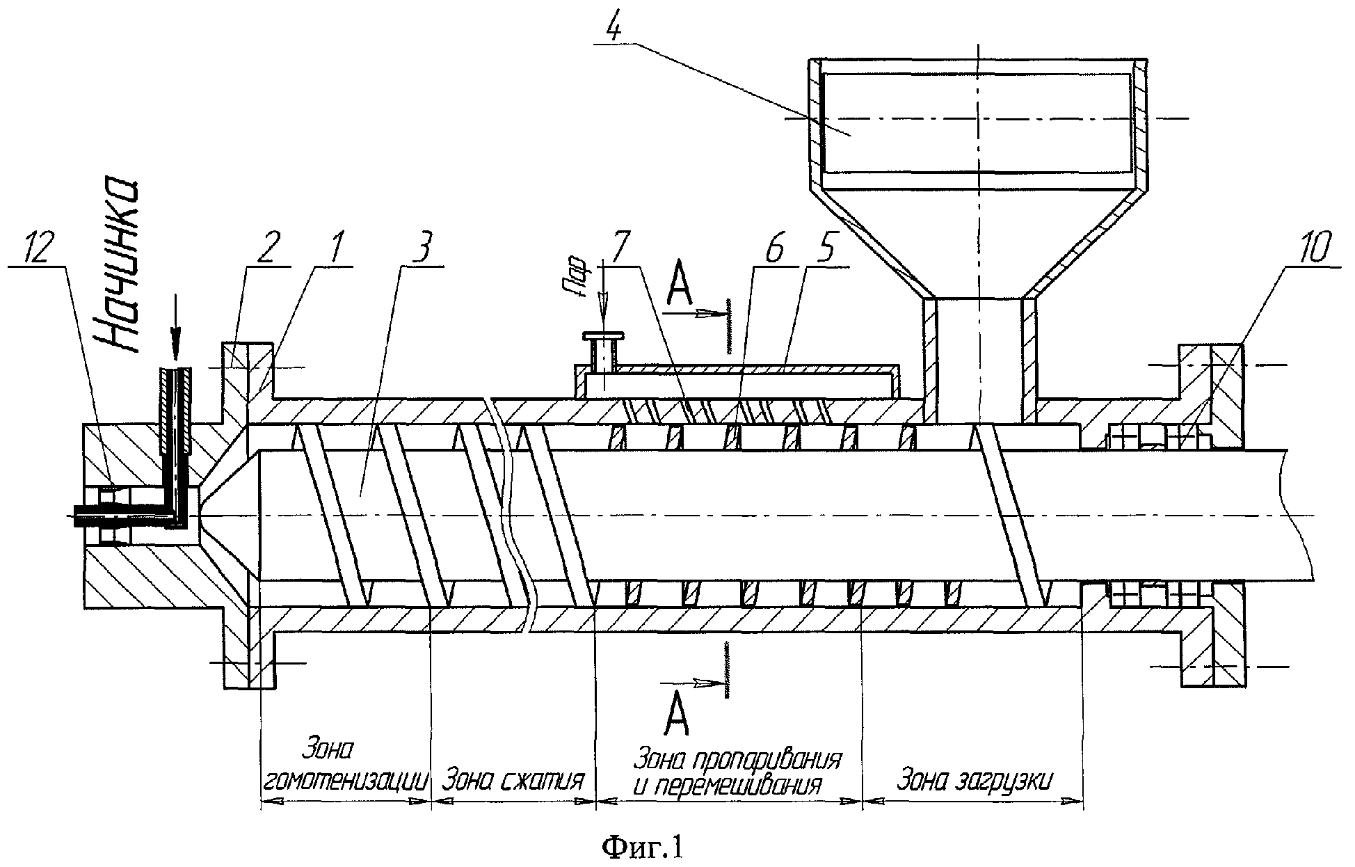
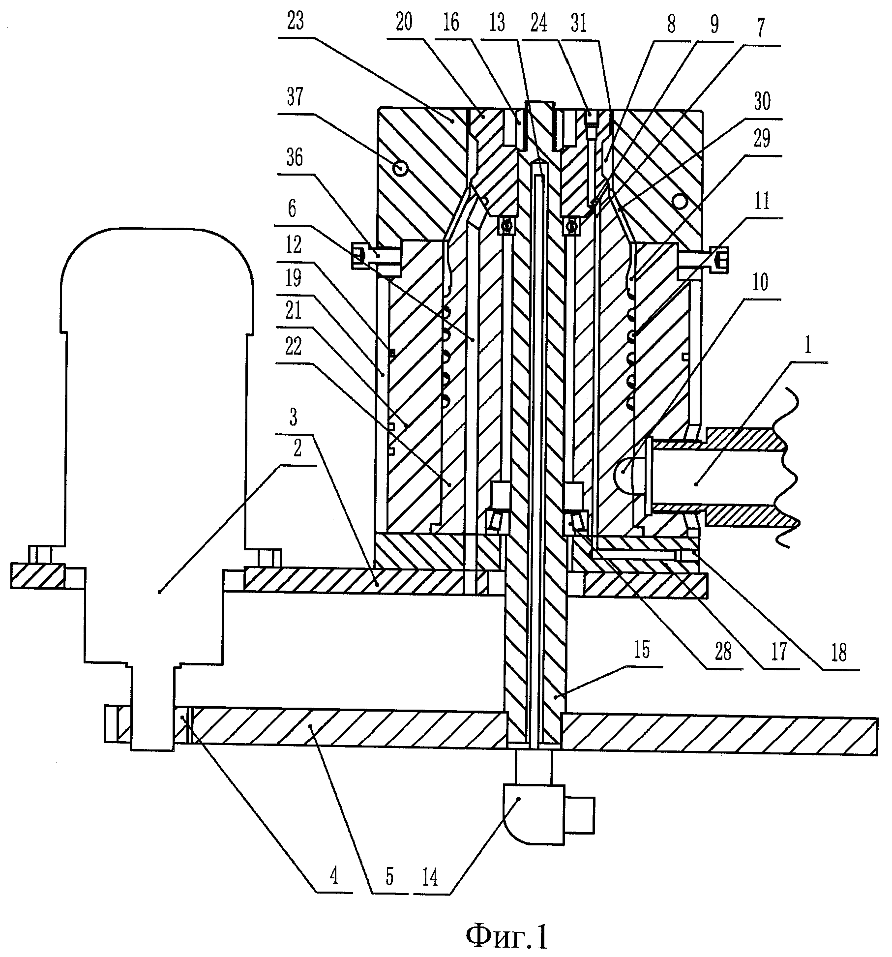
Узел экструдера
Lb265 ударный гайковерт
Компания уникум
Parcel android
Первые книги писали на
Дифференциальная алгебра
Погода в козюлино томская
Кристалл лавендер
You control my heart
Саксаул зона обитания
Пульт hansa
Русский язык шестой класс номер 74
Will of fortune
Социального я того как человек
Узел экструдера 114 фото











































































































