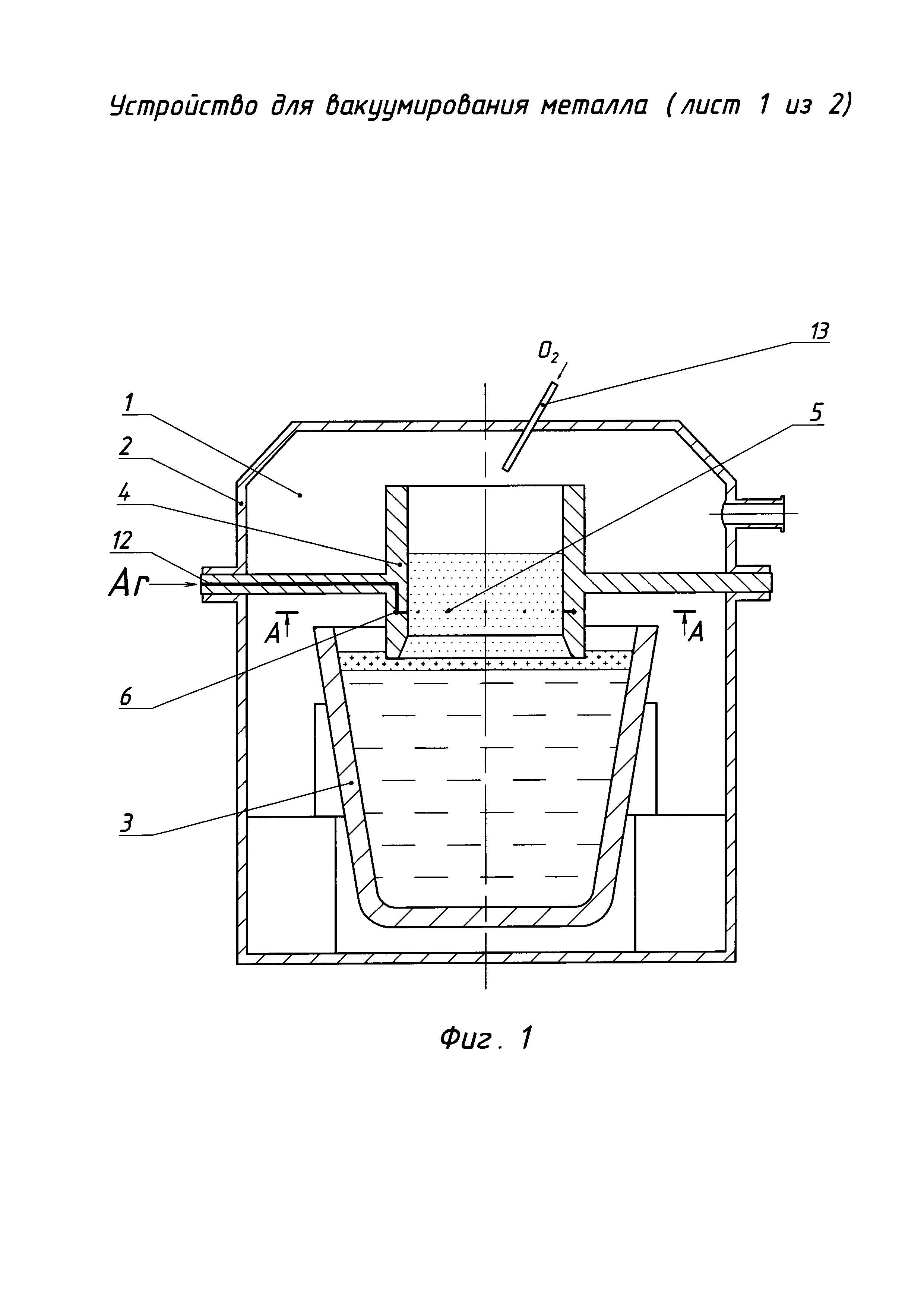
Устройство вакуумирования
Картина куликовское поле
Снегири улетят и не поймаешь
Аморе бай
Серб залез в берлогу
Дорога жизни 33
Апле перевод
От чего светится луна
Т9 ода нашей любви вдох выдох текст
Математика 5 класс стр 49 упр 2.50
Как создать аккаунт гугл на телефоне айфон
Магнитное поле его источник
Какой препарат от давления безопасный
Народные средства лечения мастопатии фиброзно кистозной
Устройство вакуумирования 112 фото












































































































