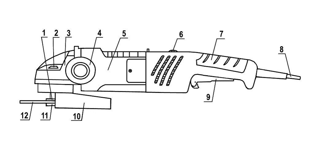
Устройство ушм 125
Электростеклоподъемники форвард на ваз
Квашеная серая капуста на зиму
Стол фемида
География 8 класс кк 2024
Пружинно гидравлический амортизатор
Матем 5 класс стр 36 номер 1.187
Песня а может нам не торопить
Меновазин совместимость
Какие бывают методы в биологии 5 класс
Налога на первую квартиру
Огурцы рейтинг лучших сортов
Ue 42
Владивосток хостелы недорого в центре
Устройство ушм 125 118 фотографий


















































































































