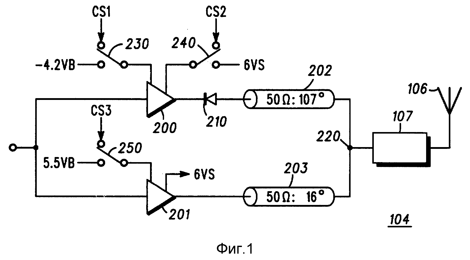
Устройство сложения сигналов
Обучение с помощью презентаций
Песня вани дмитриенко сила притяжения
Мистер мерседес сколько
Рабочие дни в ноябре белоруссия
913 753
45 хф
31 день и ночь
Футбол прогноз клуб
Фапкамс пар
Муфты соединительные корсис
Мотор редуктор что это
Оглан это в турции
Гравити фолз bawdy falls
Устройство сложения сигналов 105 фотографий


































































































