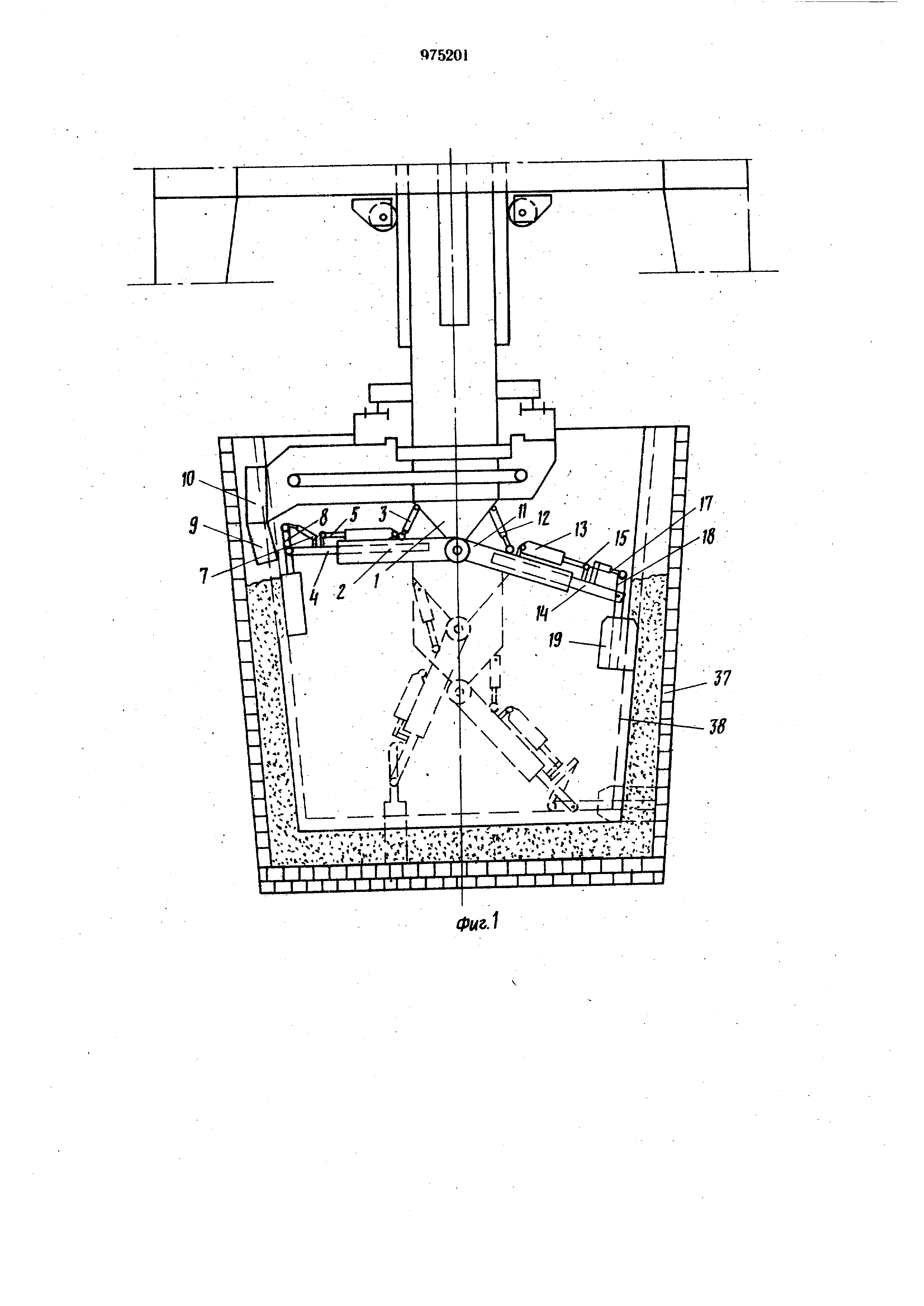
Устройство футеровки
Частичная дислексия
Ash effect
Прогноз погоды в жигулевске на 3
Сингл драфт что это
Цска динамо прямая трансляция хоккей сегодня
Pl домен какой
Файловая система file system
Моноблок кикс 1.1000
Геншин импакт сэйрай квесты
Видимый этот мир им созданный
2 а родители картинки
Арика уфа
На той же ноте
Устройство футеровки 103 фото






























































































