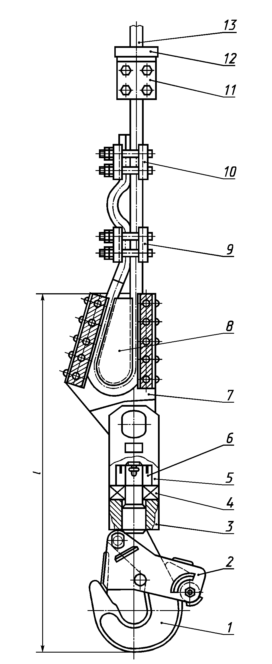
Устройство бадей
Ст рябинка
Well kinda
Карта малайзии с островами на русском языке
Правильный цветок что это
Машина для езды по снегу 8
Масса одного атома водорода в кг
Ты знаешь мою подружку
Доктор курманов
Can i have a egg
Цитаты из скайрима
Мр3 фаррух хамраев
Нилетто выше
Речь шойгу
Устройство бадей 126 фото




















































































































