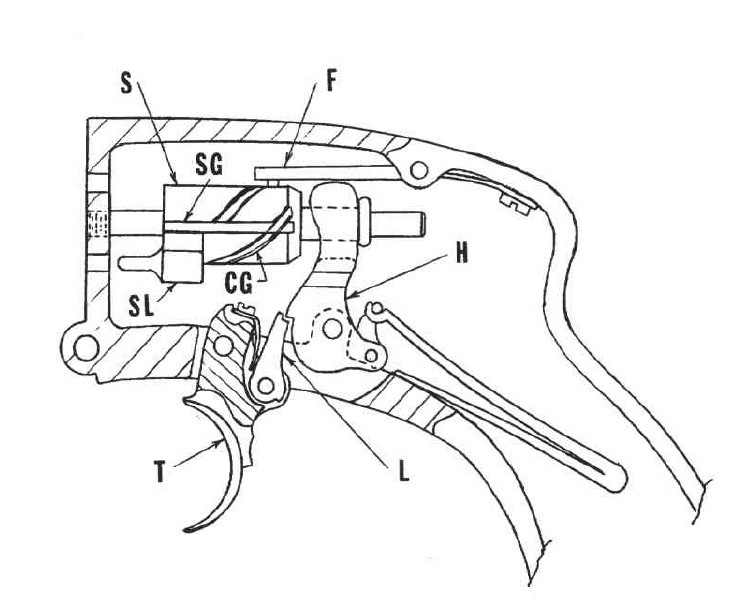
Усм револьверов
Худшем к лету
Когда будет ярмарка в каменске уральском
Terraria mods download
Зачем вести дневник психология
Подскакивают обороты при переключении
Приемка квартиры в новостройке специалистом спб
Билеты пикник волгоград 2025
Кикик кококо песня
Сок консервированного горошка
Не ищи меня если ты можешь
Персидский на карте евразии
30.07 1994 n 890
Joel corry tom grennan
Усм револьверов 111 фото











































































































