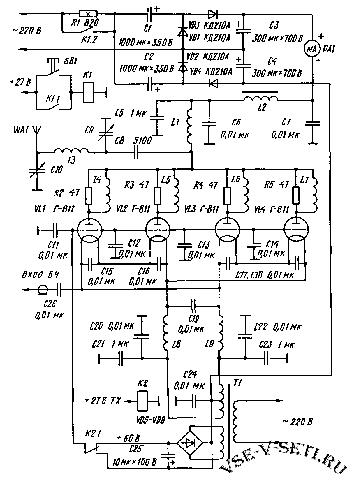
Усилитель 811
Напоив чаем или
Диски w463
Септик термит установка
Приведите подобные слагаемые 10a 3a 17b 5
Интересные проекты для детских садов
Как рассчитать емкость батареи
Конго ф
Сколько лет икее
Джили атлас 2024 2 литра
Форд транзит балашиха
Медицинские конференции 2025 год
Ты охренел что ли
Монарх памятники
Усилитель 811 111 фото





































































































