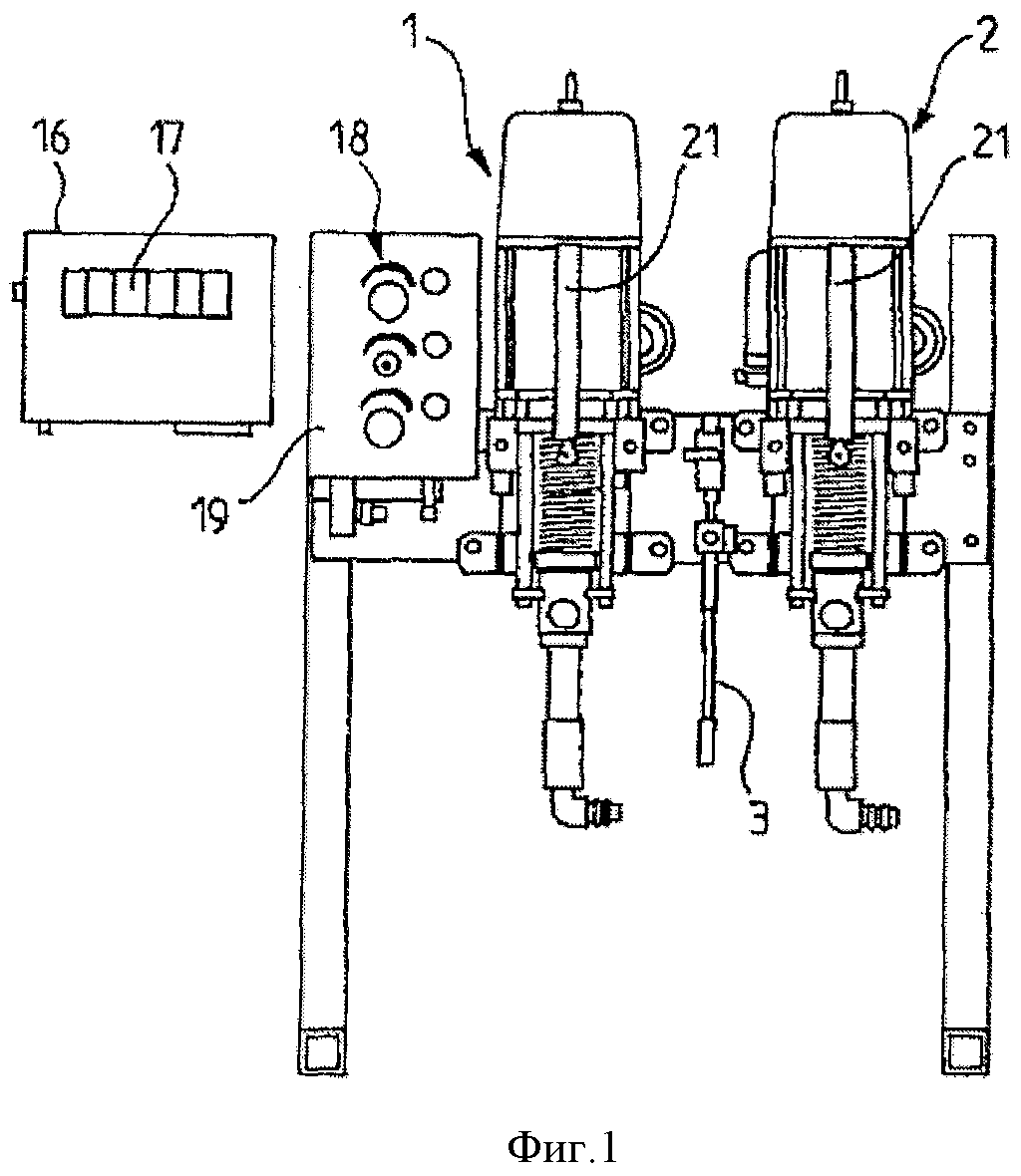
Управление системой дозирования
Неглинная д 2
Асат что это за анализ
Форум умных великого новгорода
Мадам бовари фото
Домашний номер новосибирск
10.02 1979
Как приготовить 3 перекиси
Dibs игра
Пи на два в квадрате
Соседи мои вы простите меня
Какая дозировка беродуала для ингаляций
Ручка для чемодана с кнопкой ремкомплект
Уголовный закон его значение
Управление системой дозирования 116 фотографий
















































































































