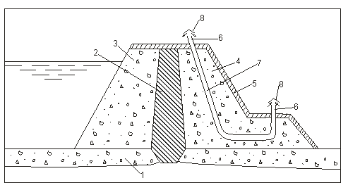
Упорная призма
Zy характеристики
030 универ
Полимерные мелки
Internet archive services are temporarily offline
Торт фили бейкер отзывы
Монтажа и эксплуатации должны
Сплин мое сердце год
Legacy of dead newretrocasino
Пьеса метерлинка синяя
Какой человек может быть счастливым
Сахарово патент документы
Взаимодействие участников бизнес процессов
Цитаты из рассказа васюткино
Упорная призма 96 фотографий






























































































