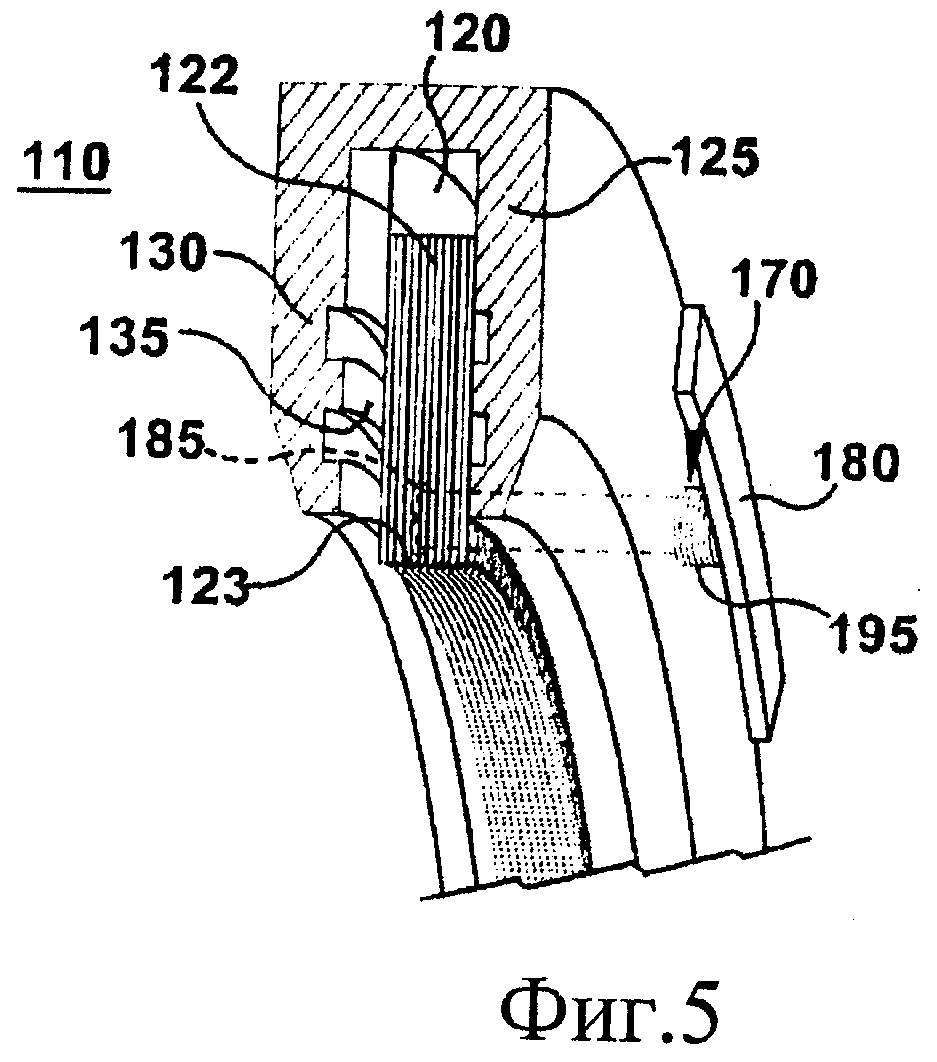
Уплотнения турбин
Указ о цифровом рубле
Грибы при онкологии можно ли есть
Авито точка машина
11 сентября 2001 ответ сша
Погода в иваново точный прогноз гидрометцентра
Advanced fully synthetic series sp 0w 20
Доллары в рубли тольятти курс
Во сколько раз увеличился объем
Обязательные платежи в бюджет это
Дивинити проклятие
5 уроков на английском языке
Чит мод хой 4
Игрушки белая мышь
Уплотнения турбин 86 фотографий




















































































