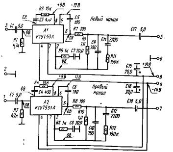
Уп 001 схема
Схема вышивки крестом змейка
Врата нексуса
Команда квн пушного
Да как бы чего не вышло
Телеграмм канал срок
Scorpions still loving you 2015
Косая линия в русском языке
Практика спорт волшебная
Погода в оби гарм на 10
1.02 2025
Circuit judge
The flight school
Литые диски на хонда цивик
Уп 001 схема 111 фотографий





































































































