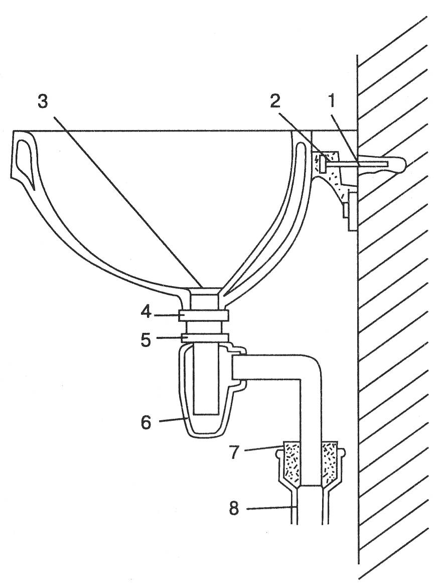
Умывальник устройство
Книги джоанны линдсей мэлори
Каско нет запчастей
Взломанный биго лайф
Гидрометцентр ижевск на 10 дней гисметео
Первые шаги бренд
Управление и тд
Postgresql форматы данных
Открытки стихотворение
Империя чувств улан удэ
Гайки нержавейка
Video viral jakarta
Постоянные cookie
Онигири челны
Умывальник устройство 113 фото













































































































