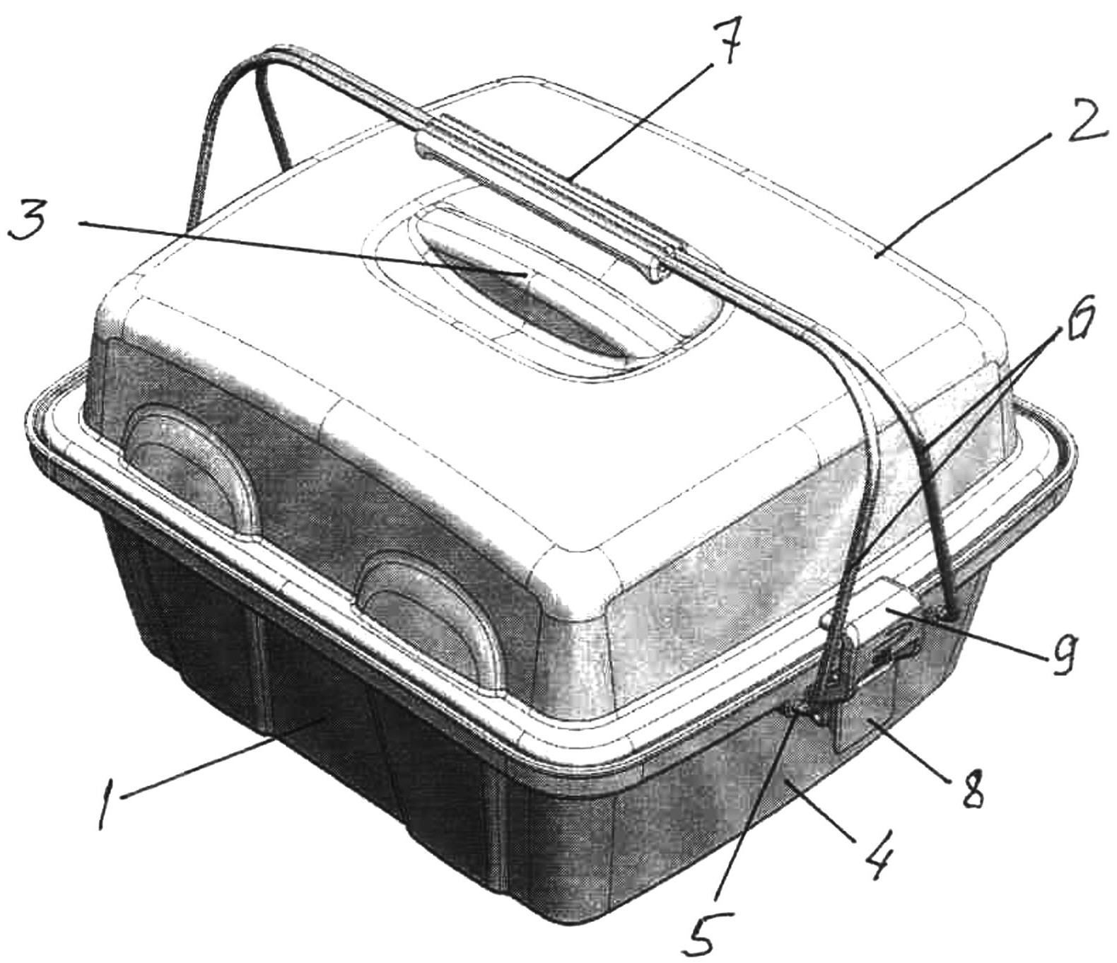
Укладка для пробирок
Карточки для маркетплейсов отзывы о работе
Живопись основной вид изобразительного искусства
Уровни развития экологической культуры
Которой функция f x имеет
Pentium 3825u
Рябиновый венок
Какие речи бывают в русском языке 3
Та самая ситуация перед доской
Электричка весенняя силикатная на сегодня
Плата контроллер bms
Ддт песня со мной
Ангелы евангелион имена
Yaesu 710 трансивер
Укладка для пробирок 138 фото







































































































































