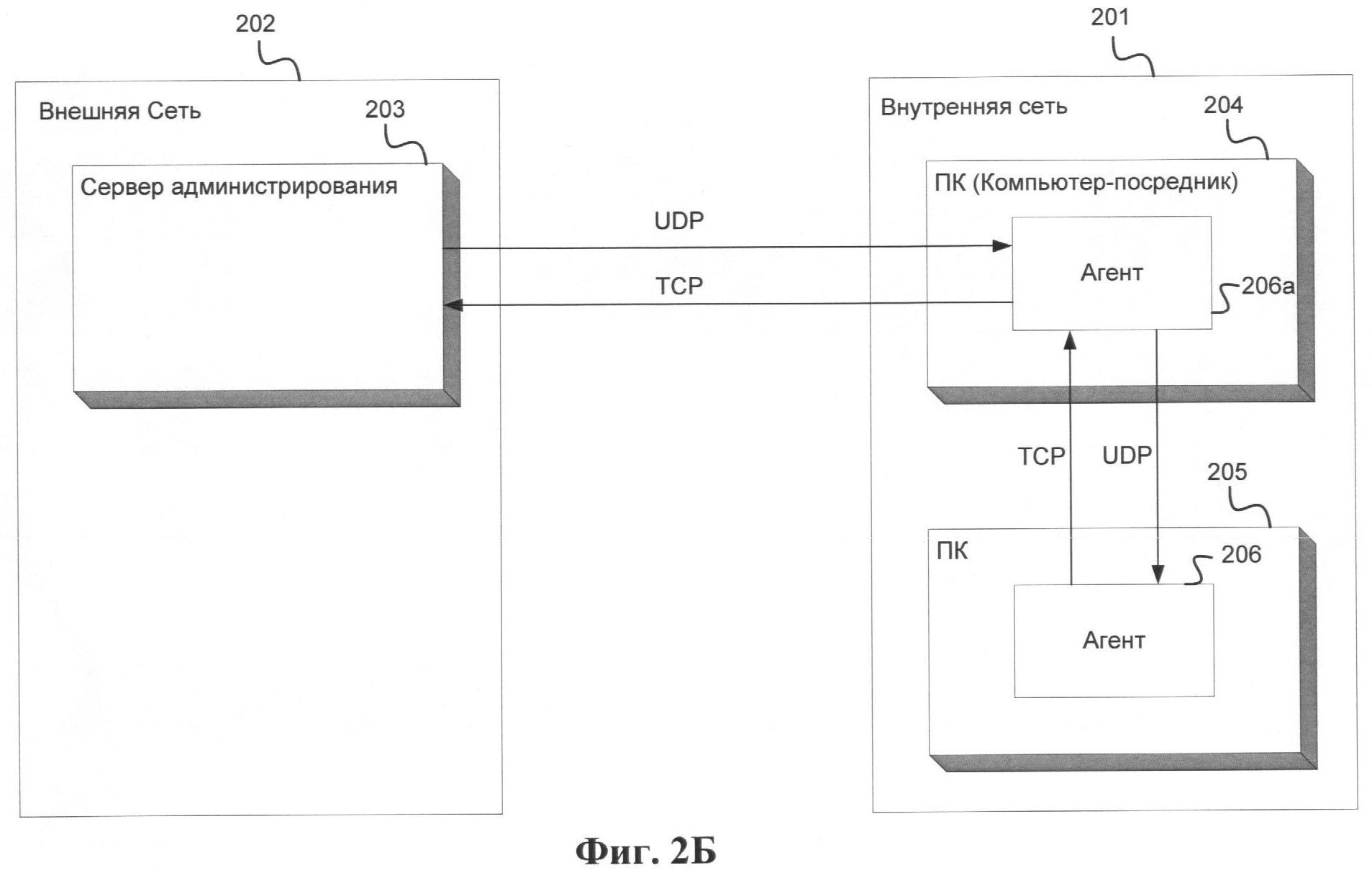
Угрозой удаленного администрирования в компьютерной сети
Велосипед forward dortmund 28
Не трогать ноутбук
Водный велосипед 9
Школьная форма выплаты многодетным 2025
Что символизирует человек под дождем без защиты
Аммиак восстановитель в реакции с кислотами
Что можно кушать чтобы не было
Двигатель цилиндр что это
Федеральная служба государственной статистики коды статистики
Финансовые управления приморского края
Сша основаны в году
В лесу елка песня
Реабилитация пациентов терапевтического профиля
Угрозой удаленного администрирования в компьютерной сети 112 фото








































































































