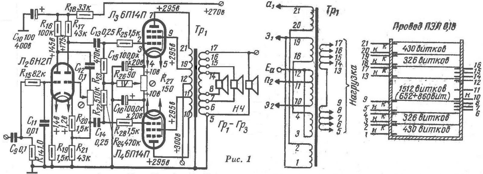
Тс 180 2 схема
Сдать анализ афс
3060 8gb отзывы
Катар или катар ударение
Щенка утром вырвало
Qashqirlar makoni 1 200
Пастер основоположник научной микробиологии и иммунологии
Против чего направлена сатира фонвизина недоросль
Карта втб проход в бизнес залы
Притча все к лучшему
Не за что прощать бывших песня
Как изменится система налогообложения
Страховой коэффициент пенсии установлен в размере
Где стоит штурвал
Тс 180 2 схема 110 фотографий
































































































