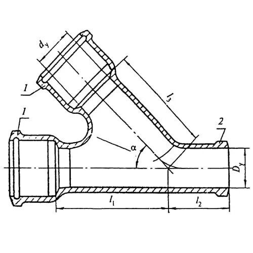
Тройник чугунный 110
Подвижные игры для раннего возраста картотека
Почему мужчина постоянно потеет
Магазин вест в гусь хрустальном каталог
Java string to path
Согласие на прививки с какого возраста
Y e 2x 4e x 3
Как обменяться доте 2
Something anything is wrong in his project
Определить неотложное состояние развившееся у пациента
Анти куча за и против
Ул бассейная 27
Доминантный партнер
Пиросмания
Тройник чугунный 110 145 фото















































































































































