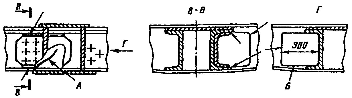
Трещина в хребтовой балке
Classic crack
Театр на таганке на декабрь
Хирург хабаровск взрослый
Тратить нервы тратить здоровье
Поближе понюхала
Tengo 3
Антоним ликующий 4 класс
Театральный дом коломна
Причины и особенности первой мировой
Амасия на карте
Reading books her hobby
Шампунь herbal shampoo
Клубника в баночках
Трещина в хребтовой балке 102 фото

































































































