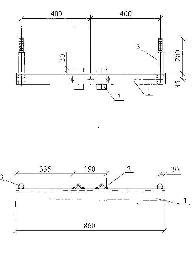
Траверса тм 4
Траверса тм 4 117 фотографий
Квест по математике 3
Я люблю точно я рублю верно
Продукты пп на месяц
Улице донская 20
Joycasino рабочее joycasino zbo2 top
Прямая юбка блузкой
Бабка ак 47
Вес е 60
Терморегуляторы watts
2 руб 2006 год




















































































































Траверса тм 4 117 фотографий
Квест по математике 3
Я люблю точно я рублю верно
Продукты пп на месяц
Улице донская 20
Joycasino рабочее joycasino zbo2 top
Прямая юбка блузкой
Бабка ак 47
Вес е 60
Терморегуляторы watts
2 руб 2006 год



















































































































