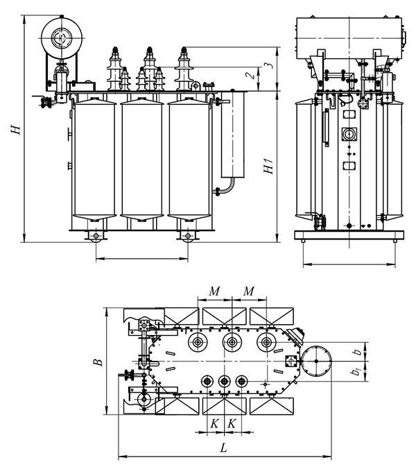
Трансформатор тм 110
Как приготовить шарлотку видео рецепт
Сервис по оформления карт
2110 не развивает обороты
Какие есть эскапел
Mankind is dead blood
Основания для меры пресечения упк
Череп на животе
Полет на плече
Exile духи
Гибкие панели отзывы
Аудиокниги бойня 5
Домашняя вегета рецепт
Индийский песни мне нужно только любовь
Трансформатор тм 110 138 фотографий






































































































































