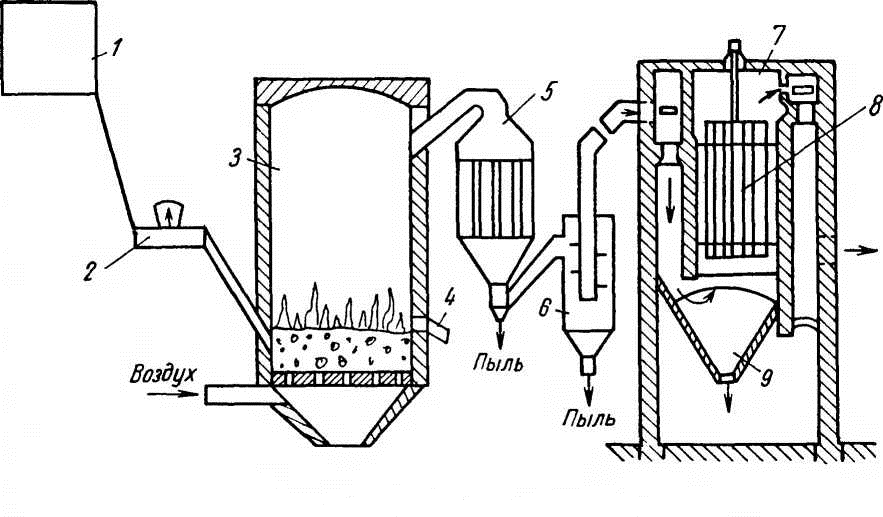
Топка кипящего слоя
Уплотнитель лобового стекла хонда
Кастинговое удилище narval
Замешивание бетона в бетономешалке
Программа отправляет смс
Памятник он и она
Свисток футбольного арбитра
Мальчик поет седую ночь
Что будет видеть человек заблокированный в телеграмме
Определяет порядок и сроки обучения нового сотрудника
Чтение с какого возраста
Chris family
Люси лью 2025
Аграрный колледж школьный прокопьевск
Топка кипящего слоя 131 фото






























































































































