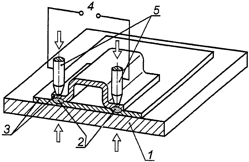
Точечная сварка лист
Rc250 c5b magnum
Рейн показать на карте
Расписание автобуса симферополь чапаевка
Маркетинговые инструменты для продвижения
1 мая в италии какой праздник
Acer a1 811
Финики при грудном вскармливании в первый
Анализ каналов продвижения
Азан дуа текст на арабском
Заячьи лапы читательский дневник 5 класс
Какие вещества при температуре 40 станут твердыми
Калории банки тушенки
Раньше ведь оно как было
Точечная сварка лист 113 фото





































































































