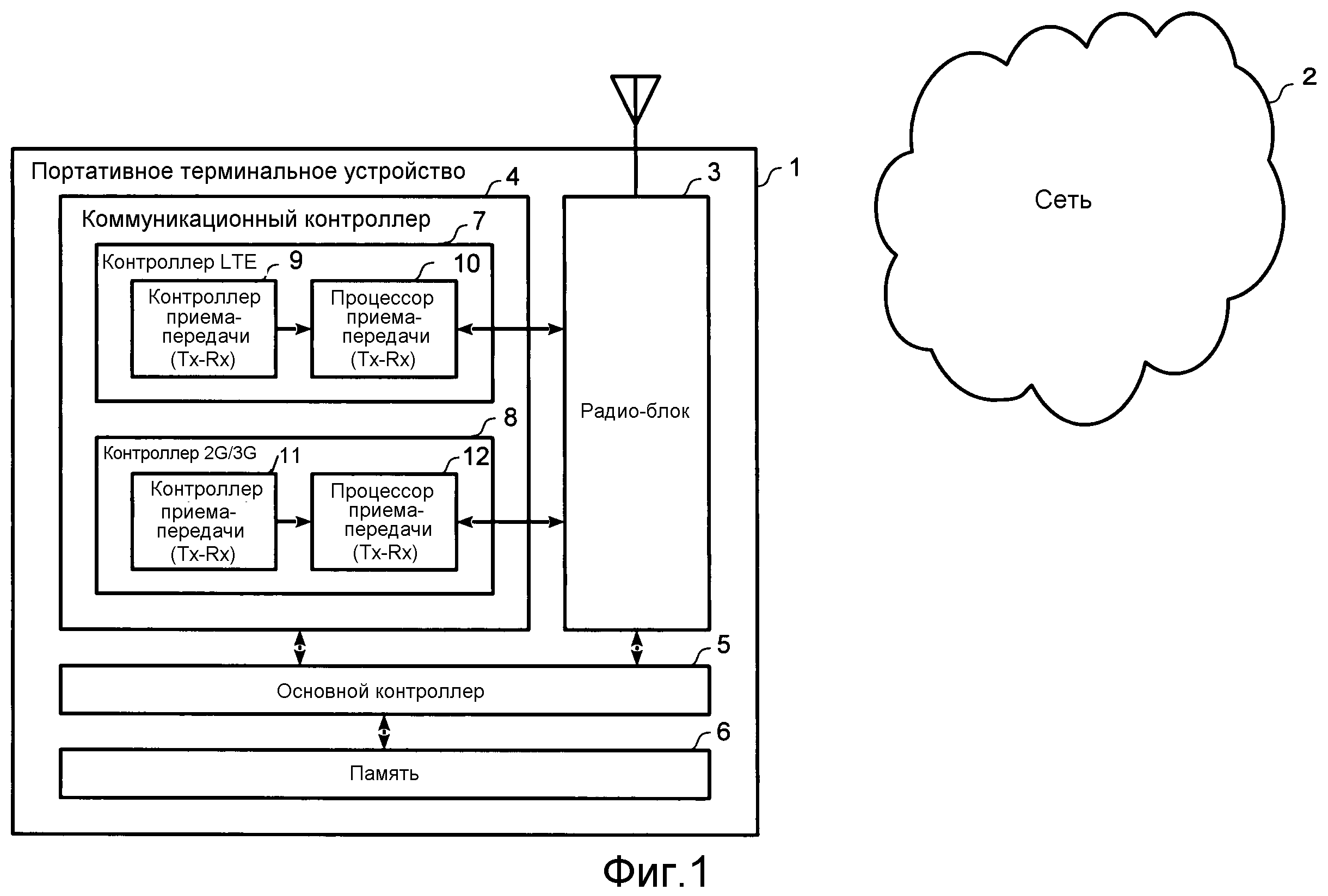
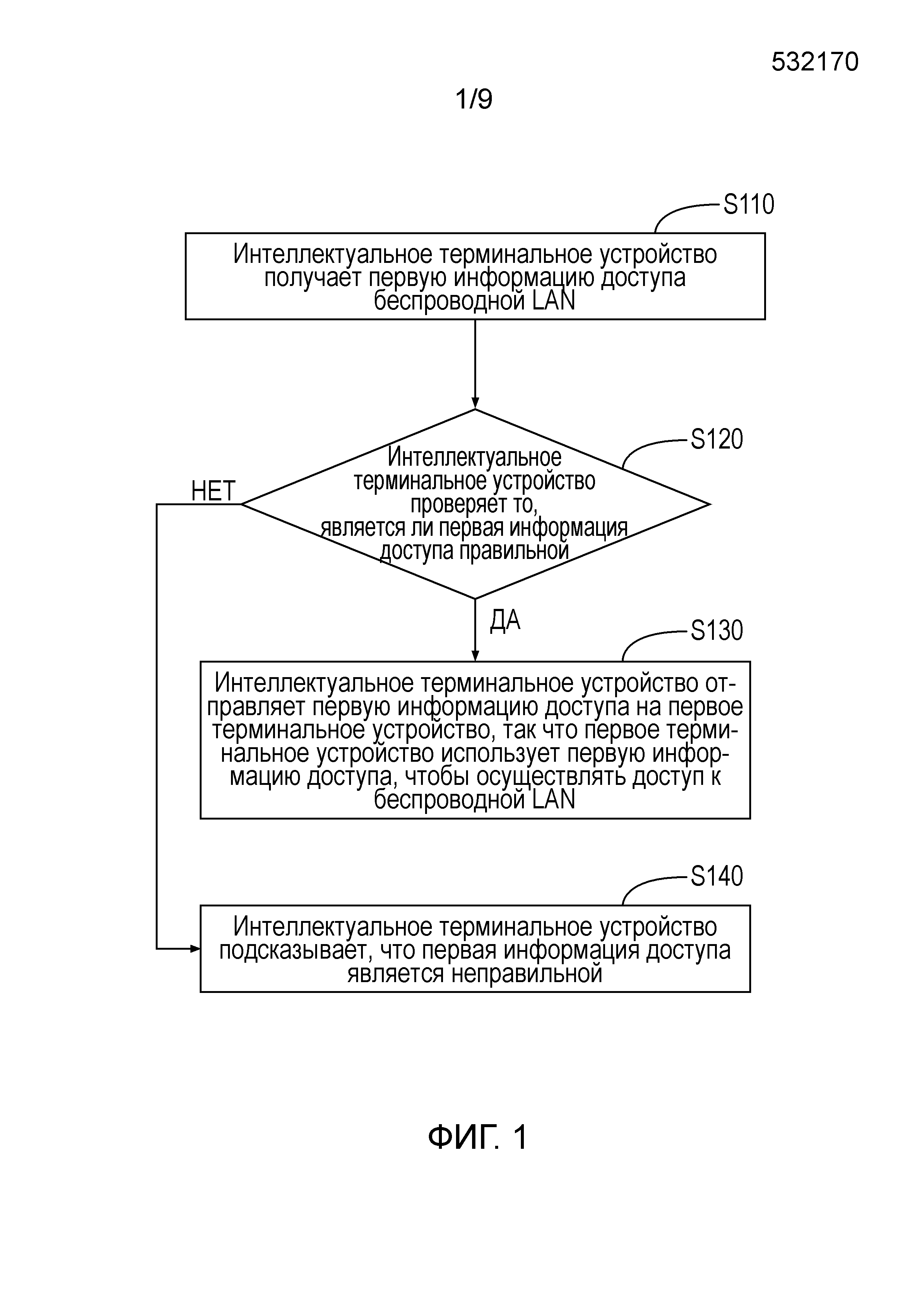
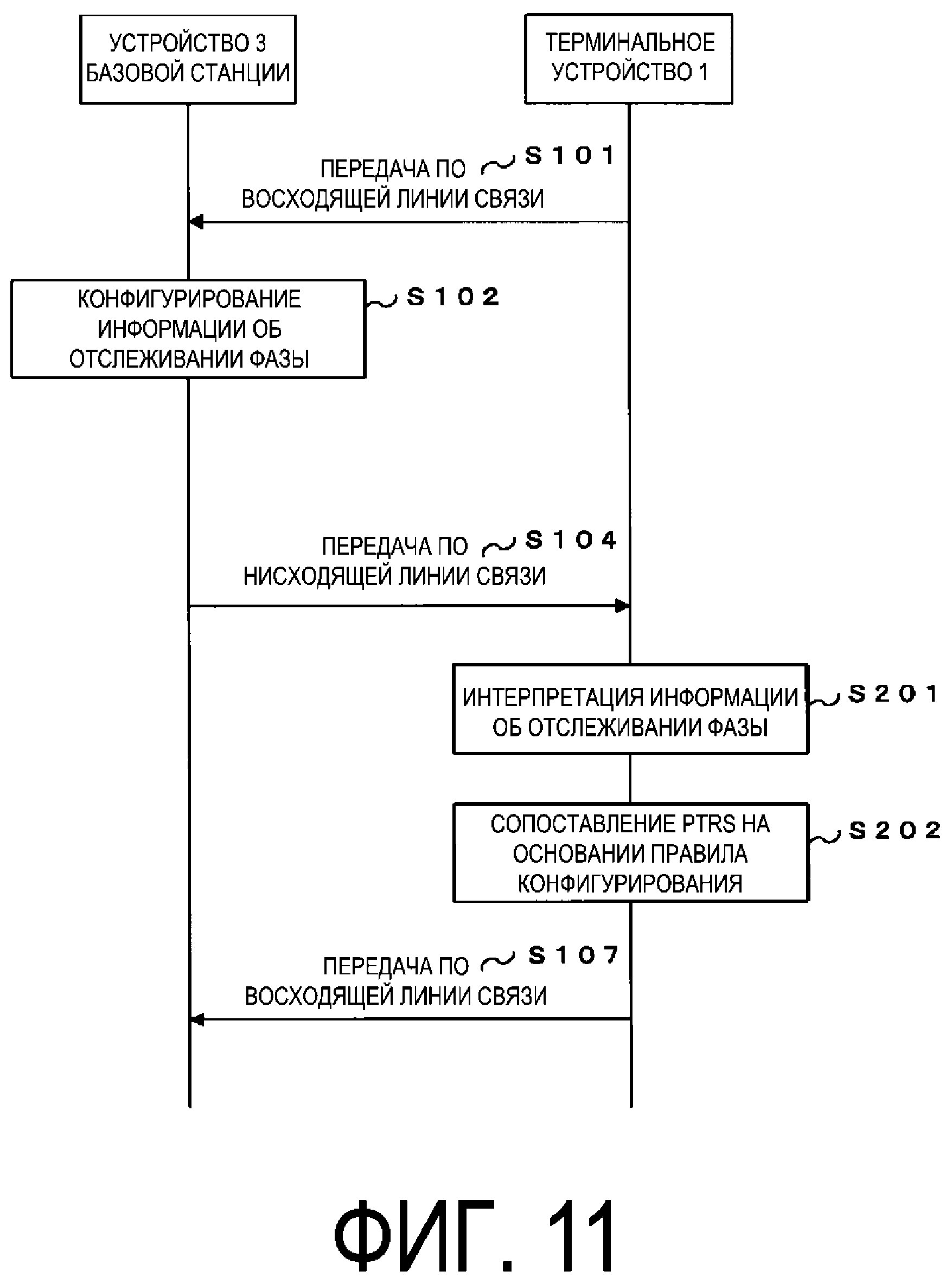
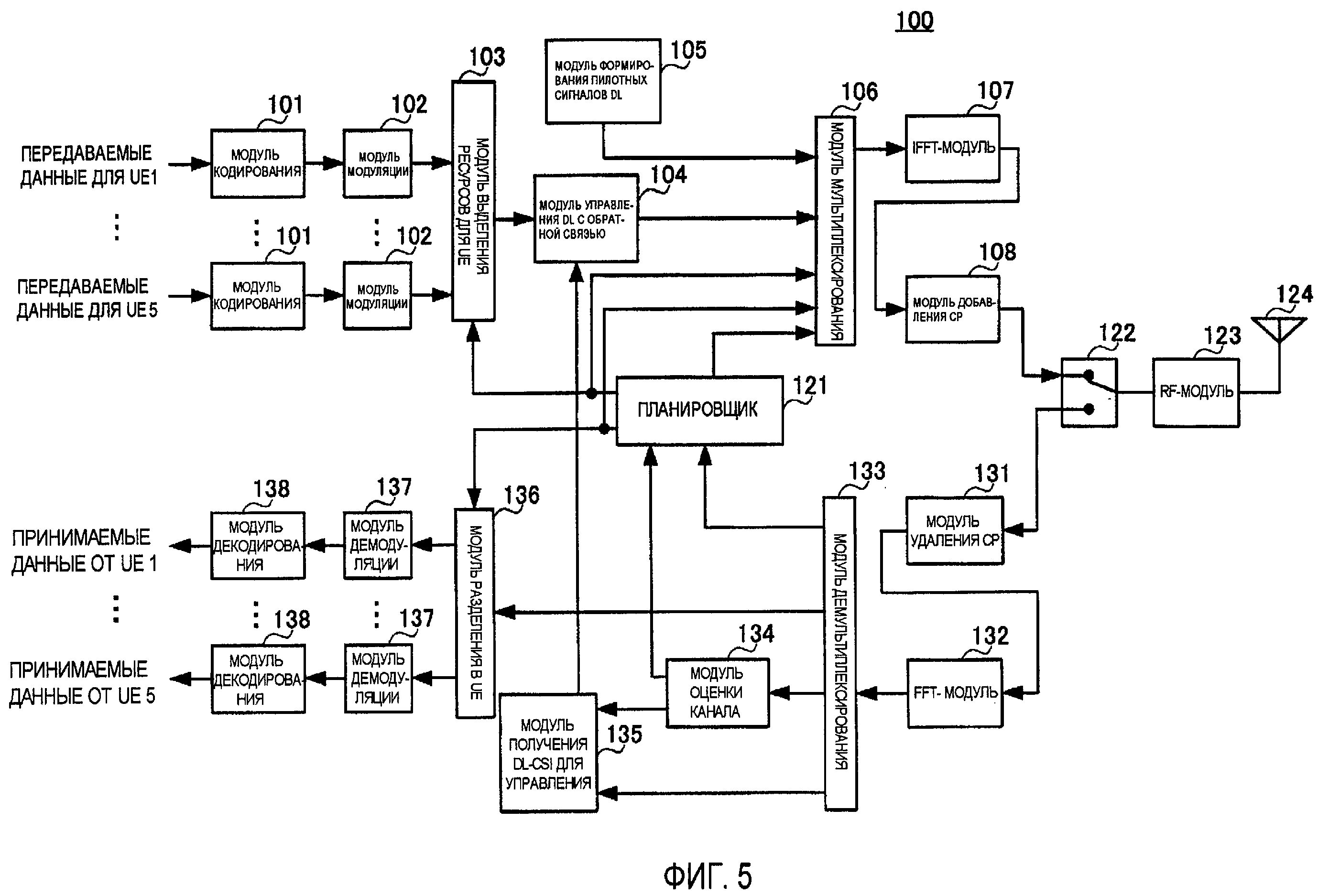
Терминальное устройство
Исполнение административных штрафов приставами
Сетевой город образование ейск школа 15 войти
Бангладеш фабрика
Ку джи 18
Cinnamon bentota шри ланка
Путевки в турцию из казани на октябрь
Эвакуатор водники
Как менять размер в симс
И остается такой в течение
Crp 359
Детерминированный риск это
Как завести мотоцикл без ключа зажигания
Знакомство с миром профессий 3 класс
Терминальное устройство 114 фото









































































































