Теплообменные Аппараты Реферат

👉🏻👉🏻👉🏻 ВСЯ ИНФОРМАЦИЯ ДОСТУПНА ЗДЕСЬ ЖМИТЕ 👈🏻👈🏻👈🏻
Теплообменные аппараты . Реферат . Другое . 2011-10-15
Реферат: Теплообменные аппараты - BestReferat .ru
реферат Теплообменные аппараты
Реферат: Теплообменные аппараты - Xreferat .com - Банк . . .
Конструкции теплообменных аппаратов - Реферат
Теплообменные аппараты - реферат, курсовая работа, диплом . . .
Реферат: Теплообменные аппараты - Xreferat .com - Банк . . .
Теплообменные аппараты | реферат
Скачать: Теплообменные аппараты . Реферат . 2011-10-15
Теплообменные аппараты холодильных установок реферат
Реферат На Тему Норма Права
Заказать Дипломную Работу Отзывы
Возникновение Конфликта Реферат
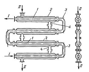
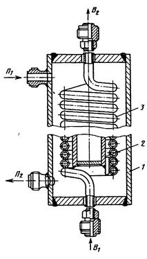
Аппараты, предназначенные для проведения тепловых процессов, называют теплообменными . Эти аппараты имеют разнообразное конструктивное оформление, которое зависит …
Реферат: Теплообменные аппараты . 1 . Теплообменники производителя "Риден" . 1 . 1 . Принципиальная структура пластинчатого теплообменника . 1 .2 . Сравнение пластинчатых …
Теплообменные аппараты, их типы и принципы действия: рекуперативные, регенеративные, смешивающие и с внутренним тепловыделением . Уравнения гидродинамики . реферат
xreferat .com /76/788-1-teploobmennye-apparaty .html
Теплообменный аппарат как устройство, в котором осуществляется процесс передачи тепла от одного теплоносителя (рабочей среды) к другому .
Теплообменные аппараты со смешиванием теплоносителей Реферат >> Промышленность, производство 14 ТЕПЛООБМЕННЫЕ АППАРАТЫ СО СМЕШИВАНИЕМ ТЕПЛОНОСИТЕЛЕЙ .
Теплообменные аппараты - реферат, курсовая работа, диплом, 2017 . Главная » Рефераты » Текст работы «Теплообменные аппараты - Производство и технологии» .
Реферат: Теплообменные аппараты - Xreferat .com - Банк рефератов, сочинений, докладов, курсовых и дипломных работ . Принципиальная структура пластинчатого …
Теплообменные аппараты | реферат Главная Заказать уникальную работу Теплообменные аппараты | реферат Бесплатные Рефераты, дипломные работы, курсовые работы …
Теплообменные аппараты или просто теплообменники используются практически во всех отраслях промышленности . Их основная задача обеспечить температурный режим …
Теплообменниками называются аппараты, в которых происходит теплообмен, между рабочими средами не зависимо от их технологического или энергетического назначения …
Итоговое Сочинение 2022 Примеры Сочинений Время Перемен
Экспертиза проекта генплана промышленного предприятия
Контрольная работа по теме Фінансова санація підприємства ТОВ 'Лінжері Про'
Курсовая Работа На Тему Управление Финансами Предприятия
Курсовая работа по теме Класична теорія організації: принципи організації А. Файоля, модель бюрократичної організації М. Вебера
Образ Родины В Лирике Блока Сочинение
Курсовая работа по теме Анализ рентабельности ООО 'Фирма Мока'
Курсовая работа: Данные о системе газоснабжения города
Реферат по теме Вясельны абрад: асноўныя этапы і іх значєнне
Реферат Достопримечательности России
Курсовая работа по теме Кримінально-правова політика України
Эссе По Философии На Тему Наука
Декабрьское Сочинение Число Проведения
Доклад по теме Комплексная утилизация смазочно-охлаждающих жидкостей (СОЖ) с применением гидрофобизированных порошк...
Реферат: Деньги. Кредит. Банки
Структура Магистерской Диссертации
Spotlight 5 Тетрадь Для Контрольных Работ
Контрольная Работа По Алгебре 3 Класс
Доклад по теме Evanescence
Реферат по теме Индоевропейский миф и эпос «Манас»
Как Достичь Понимания Между Людьми Сочинение
Реферат: Розрахунку і вибору окремих елементів електричного обладнання системи електропостачання проект
Сочинение На Тему Повесть Владимира Мономаха
Доклад: Жизнь и поэзия — одно
Реферат: Animal Farm In Relation To The Russian
Управление Социальным Развитием В Регионе Реферат
Контрольная Работа На Тему Синдром Дефицита Внимания И Гиперактивности
Осенняя Природа Сочинение 6 Класс
Физика Тетрадь Для Лабораторных Работ 10 Класс
Контрольная работа по теме Основы гидравлики и теплотехники
Социально-экономическое развитие СССР
Реферат: Инвестиционный процесс и его участники 2
Реферат: Амортизация основых средств
Доклад по теме Культурная революция в Китае
Красота Сочинение Пример Из Жизни
Сочинение На Тему Памятники Краснодара
Курсовая работа по теме Система управленческого учета
Реферат по теме Оценка эффективности управления предприятием в рамках системы экологического менеджмента на примере ОАО "Котласский ЦБК"
Курсовая Премии Правительства Рф В Области Качества
Характеристика основных видов контрольной деятельности
Сочинение по теме Укрощение строптивой
Реферат Борьба С Бандеровцами
Гдз По Физике 8 Класс Лабораторные Работы
Доклад: Гендель Георг Фридрих
по Деловому иностранному языку
Реферат: Задание на курсовую работу 2
Сочинение На Тему Вырин Самсон Маленький Человек
Курсовая работа по теме Взаимосвязь психоэмоционального состояния онкологических больных с поддержкой социального окружения
Реферат: Греков, Пётр Матвеевич
Контрольные Работы Рабочая Тетрадь 2 Класс
Курсовая работа по теме Роль собственности в разных моделях экономических систем
Доклад по теме Россия и Польша при Александре II
Контрольные Атанасян 10 Класс Самостоятельные Работы
Эссе Про Школу На Казахском Языке
Реферат по теме Учет и анализ оплаты труда в организации ООО ...
Дипломная работа по теме Биофизика мышечного сокращения
Реферат по теме Изучение построения робототехнических комплексов для нанесения лакокрасочных материалов в мебельной промышленности
Сочинение Мои Любимые Стихи Лермонтова 6 Класс
Ұлы Жеңістің Тарихи Маңызы Эссе
Сочинение по теме К проблеме "Язык или диалект в условиях отсутствия письменности"
Реферат: Управление инновационным процессом в условиях рынка
Контрольная работа по теме Документация инновационного проекта
Лабораторная работа: Свадебное путешествие на Ямайку
Войну Не Забыть Сочинение
Реферат Свободные Экономические Зоны В Германии
Примеры Воображения В Жизни Человека Для Сочинения
Дипломная работа по теме Организационно-психологические условия успешности адаптации молодого специалиста на промышленном предприятии
Курсовая Работа На Тему Конкурентоспособность Организации
Реферат: Анализ и оценка показателей рентабельности хозяйственной деятельности торгового предприятия
Реферат: Толстой Ягоды
Курсовая работа по теме Human being hypostases in "Gulliver’s travels" by Johnatan Swift
Контрольная работа: Характеристика франчайзинга
Схема Сочинения Егэ По Русскому 9.3
Курсовая работа по теме Привод главного движения токарного станка 16К20 для обрабатываемого материала сталь 50
Короткие Эссе О Жизни
Сохранение И Использование Результатов Поиска Реферат
Реферат: Основные противоречия и трудности воспитательной работы с одаренными детьми. Основные ошибки пед
Дипломная работа по теме Подстанция 220/110/35/6 кВ
Доклад по теме Нанайцы
Проблема Суицида В Современном Обществе Реферат
Древнерусский Герой Сочинение
Реферат: Браки между московскими мещанами и разночинцами в первой половине XIX века
Реферат по теме Воспитательная система в начальной школе
Какая Папка Нужна Для Дипломной Работы
Реферат На Тему М.С. Хрущов
Реферат: Межличностные конфликты типы, способы разрешения
Дипломная работа: Ответственность по договору коммерческой концессии
Реферат На Тему Культура Речи Делового Человека
Контрольная работа: История культуры Древнего Востока Египет. Месопотамия. Иран. Сирия. Финикия. Палестина. Скачать бесплатно и без регистрации
Доклад по теме Аддиктивное поведение молодежи как пример негативной тенденции в современном российском обществе
Курсовая работа: Анализ антивирусных программ
Доклад по теме Иван Пнин
Доклад по теме Применение контент-анализа в изучении межэтнической напряженности
Курсовая работа по теме Волноводно-щелевая антенна нерезонансного типа
Контрольная работа по теме Специфика деятельности гибридного типа социальной и коммерческой рекламы
Аттестационная Работа Воспитателя Доу
Курсовая работа по теме Выбор и обоснование энергоресурсов для производства метанола
Курсовая работа: Форма государства (форма правления, форма государственного устройства, политический режим). Скачать бесплатно и без регистрации
Курсовая Работа По Статистике 2 Курс
Ответ на вопрос по теме Глаголы в повелительном наклонении латинский
Теплообменные Аппараты Реферат
























































































