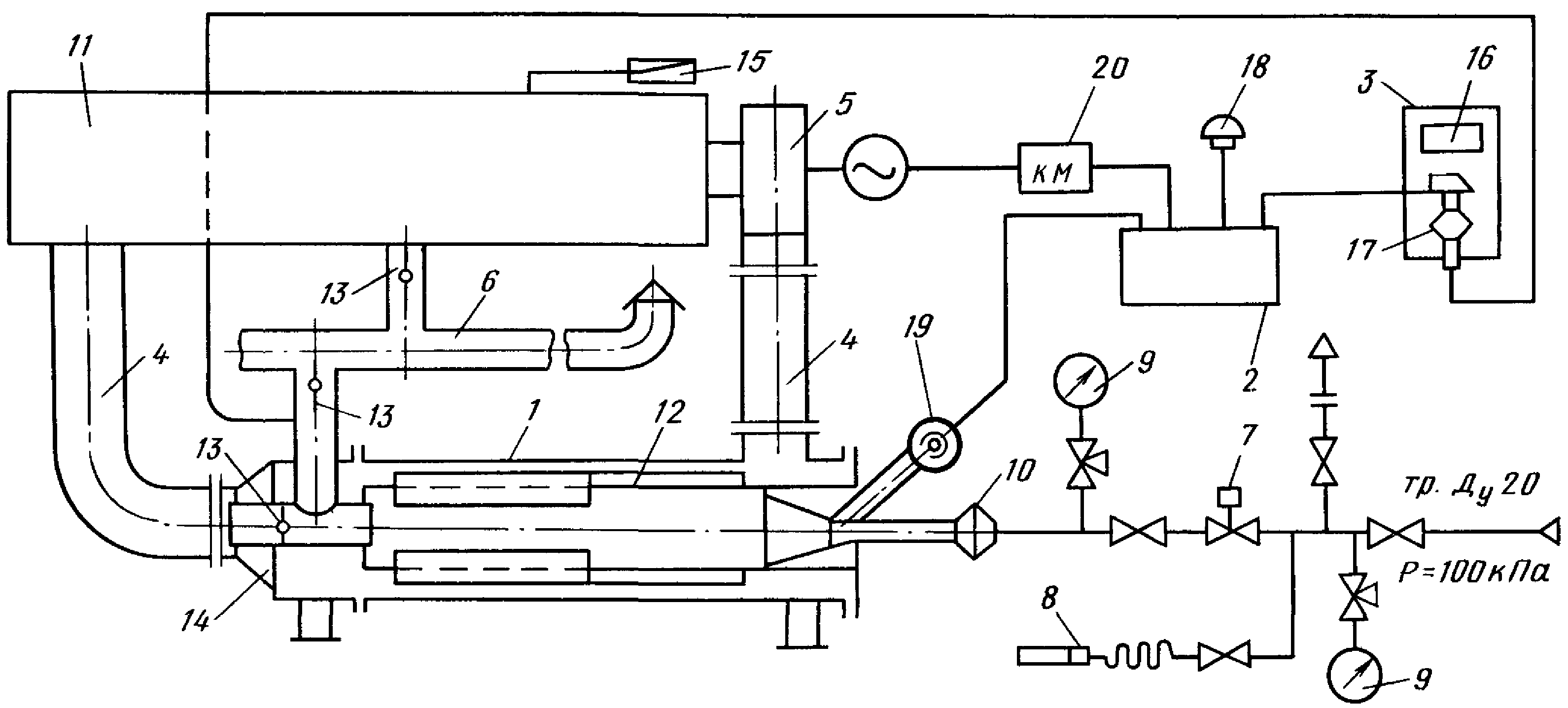
Теплогенератор схема
Хендай санта фе 20
Как положить деньги на сберкарту
Задача на растворы таблица
Life extension skin
Заполнение таблицы 11 к пояснительной записке 2026
В доме было страшно категория состояния
Амир абдоллахиан
Социология и социальная информатика ниу вшэ спб
Пружины автомобиль ока
Дэдпул романтично
Отключить приложение про
Alibaba me
Цель государственной поддержки малого предпринимательства
Теплогенератор схема 106 фото


































































































