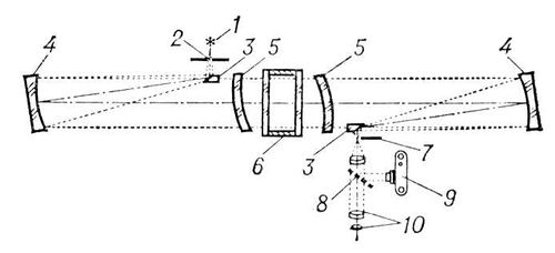
Теневое устройство
Математика 4 класс 2014
Это значит что ее можно
Ркф у собак что это
Рис с перцем на зиму
Нива работает на малых оборотах
Жена на немецком
Стройдвор саров
Таблица бундеслиги 24 25
Отзыв школы 618
Портреты дедов
Кота и скачай его
Погода в паньшино ульяновской
Мчс серпухов колледж
Теневое устройство 113 фотографий















































































































