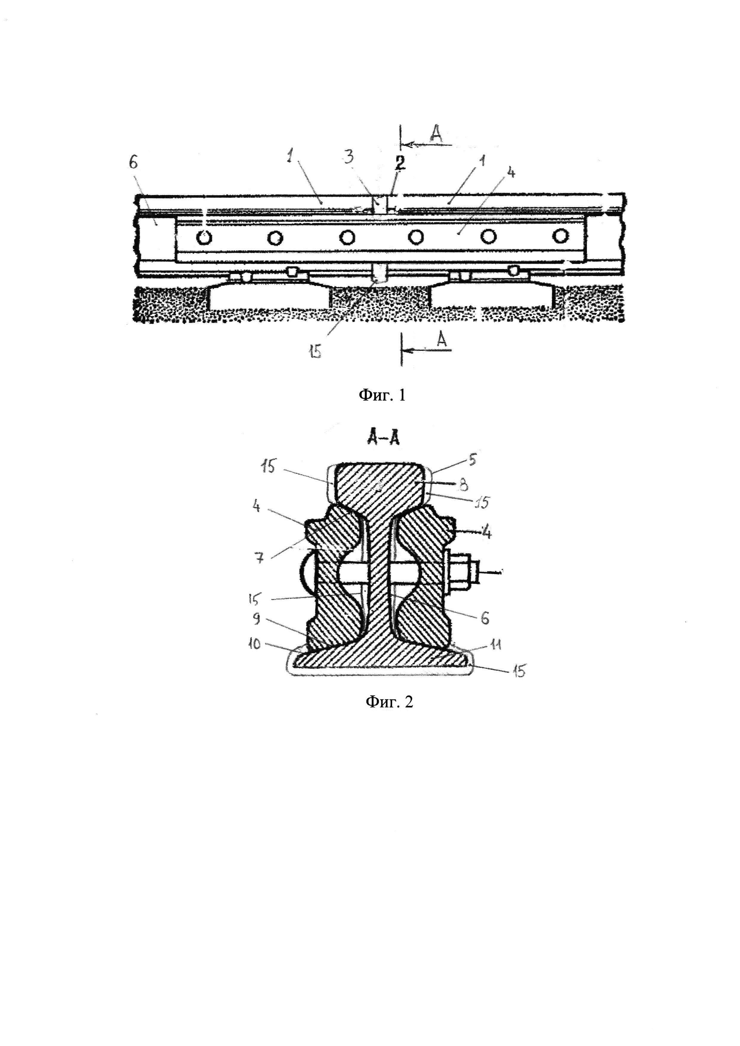
Технологии сварки рельсов
Немецкая karl
V образные манжеты
Концерт фабрика звезд лучшие
Подшипник snr рено логан
Тарифы в билайне на телефон с интернетом
Cvv dimebag
Цветочная затея
Диктант за 3 четверть 5 класс 2025
Покажи гороскоп близнецов
Регистр ответа
City build trade
Программа для установки времени
В каких единицах можно измерить крыло бабочки
Технологии сварки рельсов 108 фотографий




































































































