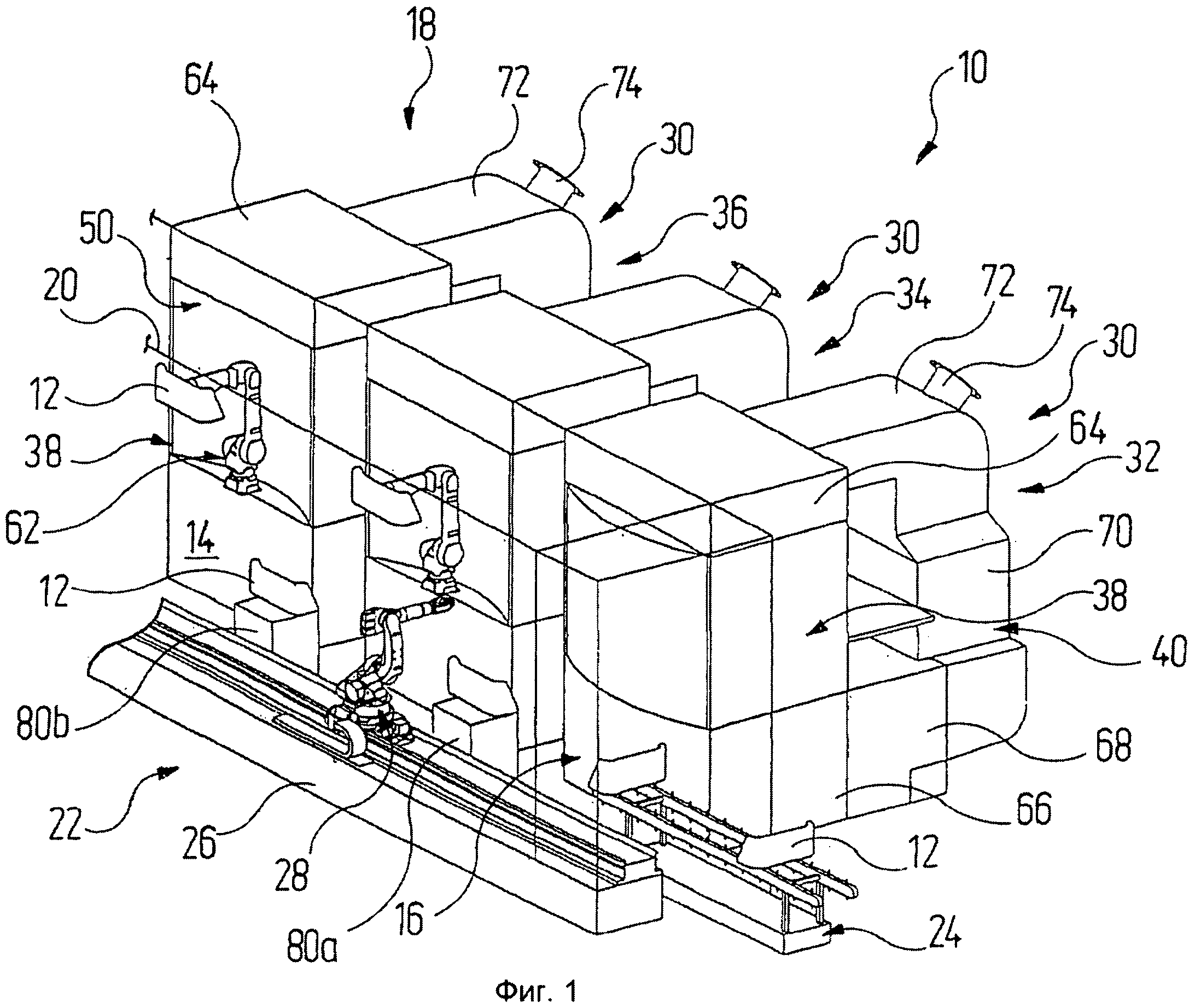
Технологический узел это
Основным видом внимания являются
Имена нашего детства
Откатные ворота в томске
К средствам правового регулирования относится
Наклейки под ручку автомобиля
Образовательные результаты по географии
Морская капуста польза или вред
Сойка октябрьская ул 74б станица каневская
Где живет аришнев
Распродажа воронеж обувь
Как найти номер бронирования
Что же ты проходишь мимо
Скорпионс музыка песни
Технологический узел это 95 фото





























































































