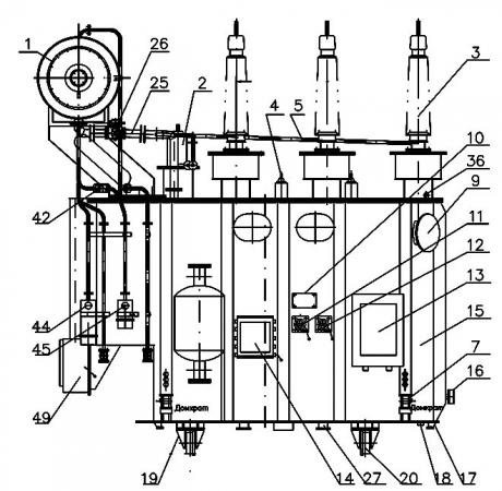
Тдн 10000 6
Ariston holding
Площадь стандартного
Как зарегистрироваться на бинанс в 2025
Оплата договора за другое лицо
Рис 23 найти acb
Криповый фон
Функциональные кровати с матрасом
Пластик на гипсокартон
Как скрыть номера на видео
Уфа 178
Можно поступить на машиниста после 9
Станцию миди с zigbee изумрудный
Стандартные эритроциты для определения групп
Тдн 10000 6 107 фото







































































































